VITA
TECHNICAL BULLETIN
51025-BK
Chain Link Fence
Making Machine
This bulletin
contains step-by-step procedures for parts manufacture and
assembly of a
hand-operated machine for making chain link fencing.
The
machine here
is designed to produce fencing up to 244 cm (96") but can be
used to
produce fencing of any height. The size
of the openings in the
fencing is
controlled by the size of the "bending-head." The machine described
here requires
#12 or #14 wire, but the machine could be modified to
take larger
wire.
The chain
link fence making machine was designed by VITA in response to requests
from South
America and Africa. In Botswana, the
machine has become
the basis for
a small fence manufacturing business which serves as a source
of employment
and produces fencing which is far more affordable locally
than is the
imported fencing which was the only material previously available.
Please send
testing results, comments, suggestions and requests for further
information
to:
VITA
1600 Wilson Boulevard,
Suite 500
Arlington, Virginia
22209 USA
Tel: 703/276-1800 . Fax:
703/243-1865
Internet: pr-info@vita.org
ISBN
0-86619-105-4
VOLUNTEERS IN TECHNICAL
ASSISTANCE
VITA TECHNICAL
BULLETINS
This Technical Bulletin is
one of a series of
publications that offer
do-it-yourself technology
information on a wide variety
of subjects.
Technical Bulletins are idea
generators, intended
not so much to provide a
definitive answer as to
guide the user's thinking and
planning. Premises
are sound and testing results
are provided, if
available.
Users of the information are
asked to send us their
evaluations and comments
based on their experiences.
Results are incorporated into
subsequent
editions, thus providing
additional guidelines for
adaptation and use in a
greater variety of conditions.
FABRICATION
Clamp two
halves of crankshaft-bearing block (1A) in vise, drill two 0.6cm (1/4")
diameter
holes vertically through both halves and drill 2.5cm (1") diameter hole
horizontally.<see
figure 1>
clf1x1.gif (353x353)
Similarly,
clamp and drill two 0.6cm (1/4") diameter and one 5.7cm (2 1/4")
diameter
holes in
bending-head block (1B); also drill 0.6cm (1/4") diameter vertical
hole with
1.3cm (1/2") diameter x 0.6cm (1/4") deep counterbore in top half.
<see figure 2>
clf2x1.gif (353x353)
Drill 0.6cm
(1/4") diameter hole in bending-head arm (4) and round off corners.
<see figure 3>
clf3x1.gif (317x317)
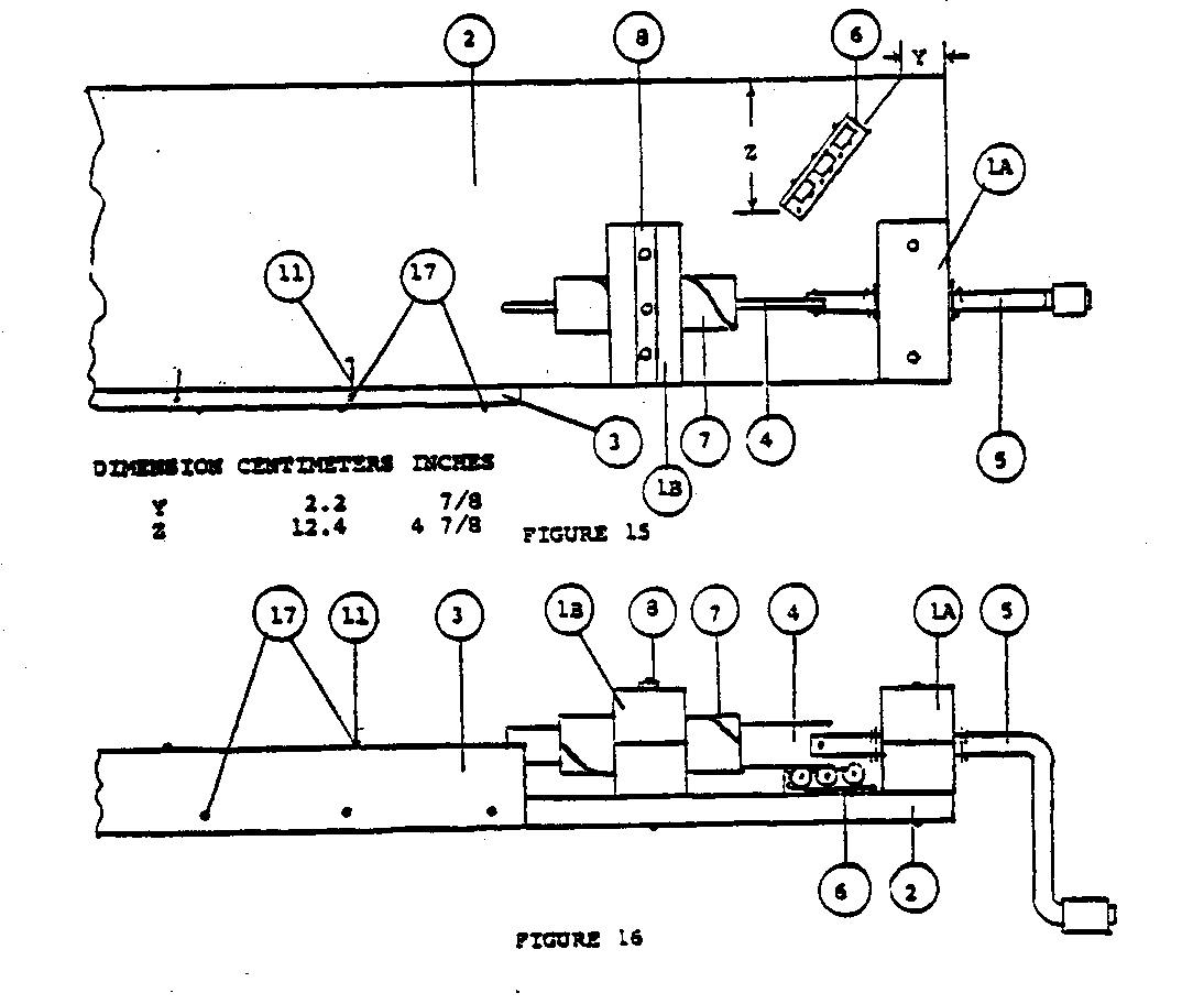
DIMENSION
CENTIMETERS
INCHES
A
5 2
B
1 3/8
C
0.5 3/16
D
21 8 3/8
E
3.2 1 1/4
F
0.5 3/16
G
16 6 1/4
H
3.7 1 1/2
I
11 4 1/4
J
5 1 7/8
K
14 5 5/8
L
13 5 1/4
M
38 15
ASSEMBLY
1.
Assemble tension-assembly as shown. <fig
14>
clf14x2.gif (309x382)
Assemble
tension-assembly sheaves in one way. <fig. 11 & 12>
clf11x20.gif (353x353)
Bearing pipe
ODs in Figure 12 may have to be filed slightly so that sheaves
clf12x2.gif (353x353)

are snugly
free-turning.
2.
Assemble bending-head assembly. <figure
13>
clf13x3.gif (486x486)
Crankshaft OD
may have to be filed slightly so
that handle
(1) is snugly free-turning; bending-head
arm (4) width
may have to be filed slightly so that it is
snugly
free-turning inside pipe.
3.
Fasten machine bed (2) to suitable sturdy
legs approximately 90cm (36")
above floor.
<see figure 15 and 16>
clf15x3.gif (600x600)
4.
Mount all machine components to bed (2) as
shown in top and side views.
<see
figure 18>
clf18x4.gif (600x600)
Cross-section
assembly view of bending-head mounting; force nut (14) into
counterbored
bending-head block (1B), place bending-head brace (8) on top
of block and
mount to bed (2) with bolts (13), flat washers, lockwashers
and nuts;
thread bolt (14) through nut until end of bolt is flush with
bending-head
pipe ID; tighten second nut to prevent loosening.
4.
Bend crankshaft (5), cut slot in end
indicated, drill 0.6cm (1/4")
diameter
hole through slotted end and
drill four 0.3cm (1/8") diameter
holes. <see figure 4>
clf4x5.gif (486x486)
5.
Cut 0.5cm (3/16") wide
spiral slot in bending-head
pipe (7); to mark
spiral, cut strip of
heavy paper 8cm (3 1/8")
wide and wrap around
pipe.
Drill 0.6cm
(1/4") diameter hole
in top of pipe. <see figure 5>
clf5x5.gif (393x393)
Smoothing the
spiral groove.
It is
necessary to smooth the spiral groove with a small file so that the wire
will move
freely through the bending-head.
Strengthening
the bending-head.
To make the
bending-head stronger, start with a piece of pipe 2" (5cm) longer
than
required. Cut the spiral groove as
described in the instructions leaving
the 2"
uncut portion at the end near the crank.
Made in this way the pipe will
hold its
original shape much better and the uncut part will not interfere with
the operation
of the machine.
Alternate
method of crank construction.
The crank can
be made from 1/2" diameter pipe and fittings, if available.
Alternate
method of constructing tension-assembly.
A very simple
and suitable tension-assembly can be made with wooden pegs
mounted in a
board as shown below. The wire is
passed around as many of the
pegs as
necessary to provide the proper tension.
As wear begins to show on
the pegs they
can be driven into the board until the area of wear disappears.
After some
time it will be necessary to replace the pegs.
The
positioning of the wooden peg tension-assembly will depend on the general
construction
of the machine. If it is built with
wooden legs, the pegs can
be placed in
the leg nearest the bending-head to form the tensioning device.
Otherwise,
the tension-assembly must be constructed as a separate piece and
attached to
the machine bed in the appropriate position.
6
Drill three 0.6cm (1/4") diameter holes
in bending-head brace (8). <see figure 6>
7
Form hooks (11). <see figure 7>
8
Drill three 1.3cm (1/2") diameter and
three 0.6cm (1/4") diameter holes in
tension-assembly base (6). <see figure
8>
9
There are two methods of fabricating the
tension-assembly sheaves (9A & 9B,
or 10) and their axles (26A or 26B):
a.
Preferred method, if use of lathe is possible, Figure 9 cross-section
view: fabricate sheaves (10) as shown.
b.
Alternate method, if use of lathe is not possible, Figure 10
cross-section
view: assemble sheaves (2-9A &
1-9B) each) with bearings (9C)
as shown; file bearing (9C) lengths so
that assembled sheaves will
revolve sungly; 9A and 9B may each be
built up of series of thin
washers, if necessary.
SOME
ADDITIONAL NOTES ON THE CHAIN-LINK FENCE-MAKING MACHINE <see figures>
Making the
spiral groove in the pipe.
The width of
the paper used for marking the spiral groove is:
2 5/8" (6.7cm) wide for 1 1/2"
(3.8cm) pipe
3 1/8" (8cm) wide for 2" (5cm)
pipe
The paper is
wrapped spirally around the pipe with just enough space between
the edges of
the paper to mark with a pencil.
Using a
hacksaw, cut along this line, rotating the pipe so that the blade just
goes through
the metal. Too deep a cut will cause
the hacksaw blade to bind.
A second cut
is made near the first so that the resulting groove is 3/16"
(0.5cm) wide.
OPERATION
1.
Feed #12 or #14 wire from wire feed roll
over nearest tension-sheave;
under middle
tension-sheave and over last tension-sheave into spiral slot
in
bending-head pipe.
2.
Figure 17:
Clockwise rotation of crankshaft handle will produce properly
formed wire
at output end of bending head; continue rotating crankshaft handle
until formed
wire is of sufficient length for desired fence height.
3.
Figure 17:
Cut wire and rotate handle so that a second strand is formed
which will
interlock with first strand.
4.
Figure 17:
Continue the above procedure until fence length reaches end
of
machine-bed; hook hooks (11) to last formed strand to support fence and
continue as
above. As each strand is completed,
move hooks to that strand.
5.
5cm (2") ID bending-head pipe used with
5cm (2") wide bending-head arm
will make
fencing with 10cm (4") mesh, while 3.8cm (1 1/2") ID pipe and
3.8cm (1
1/2") wide arm will make 7.6cm (3") mesh.
6.
Lubricate both bending-head assembly and
tension-assembly occasionally.
Soap makes
the best lubricant for the bending-head because it does not leave
the fence
dirty as does oil or grease. The soap
can be applied as a thick
soap and
water solution to the bending-head itself or by allowing the wire
to pass over
a dry bar of soap just before it enters the bending-head--after
passing
through the tension assembly.
The parts are assembled by bolting the
blocks "C" and
"D"
to a sturdy, narrow table or work bench, as shown
above. If
such a work bench is not available, it may be
constructed
for this purpose. The top of the bench should
be made of a
plank 1 foot wide, 10 feet long, and 1-1/2
inches in
thickness.
As the wire feeds off the supply roll, it
goes first
through the
pulley assembly. It goes over the first pulley,
under the
second, and over the third. The end of the wire
is then
inserted in the slot in the pipe "A". When the
crank is
turned (clockwise) the wire winds around the
steel plate
or "bending arm", follows the spiral slot, and
is forced out
the other end in the form of a flat spiral.
When the
spiral strand reaches the desired length, it is
cut off with
wire-cutting pliers. The first strand is held in
place while
the next strand winds itself around the first.
A narrow board (1 inch x 4 inches x 103
inches) is
fastened to
one side of the work bench, as shown above.
Wire hooks
are arranged along the edge of this board, and
are used to
hold the finished section of wire in place,
while each
succeeding strand is being made. This arrangement
holds the fencing
up off the table, so that the spiral
has room to
turn.
As each strand is cut off, the two ends are
twisted together
with the ends
of the preceding strand.
Finished fencing accumulates on a roll on
the floor beside
the work
bench. For continuous production, a rack
may be
prepared, with an axle-and-crank arrangement, on
which the
finished wire may be rolled up as it accumulates.
Also, for continuous production, it is best
always to
leave a short
section of fencing in line on the machine,
since the
first few strands are always somewhat difficult
to hold in
line. To separate two sections of fencing, it is
not necessary
to cut the wire; simply loosen the two ends
of one of the
strands and turn the spiral backwards out of
the fencing.
An abstract of the fence-making machine
as it appeared in "World Neighbors
in Action." <see figure>
A. The size
of this pipe determines the size of the openings
in the mesh. A 2-inch pipe will make
fencing with
4-inch openings. To mark the spiral, cut a
strip of
heavy paper 3-1/8 inches wide and wrap it
around the
pipe. To cut the spiral slot, a hacksaw is
used. The
slot should be 3/16 inches wide. A 1/4-inch
hole is
drilled in the top of the pipe, for holding
it in place.
B. This
"blade" may be made from steel or strap iron. It
must be tough enough so that it will not
tend to twist
out of shape with use. The edges should be
filed off
so that it fits snugly but turns freely
inside the pipe.
C. Two blocks
are clamped together and a 1-inch hole
bored between them horizontally, as shown.
Two 1/4-inch
holes are also drilled vertically, for
fastening the
blocks to the work bench.
D. In the
same way, the two blocks are clamped together.
A hole 2-1/4 inches in diameter is bored
horizontally,
and three 1/4-inch holes are drilled
vertically, as
shown. The top center hold also requires a
1/2-inch
counterbore, (1/4-inch deep) in the top
block, to admit
a locknut. A 6-inch strap iron is also
drilled with three
1/4-inch holes to match the holes in the
blocks. (See
Figure 3 on page 5).
E. The crank
may be made from a 1-inch rod, 31 inches in
length. A 3/16-inch slot is cut in the end,
so that it
will fit over the "blade", or
bending arm. Holes are
drilled as indicated, to hold the crank in
place. A 5-inch
length of pipe is fitted over the handle,
so the
crank will turn easily in the hand.
F. The size
of the pulley sheaves is not especially important.
A 1-1/2 or 2-inch diameter is a good size to
use.
[C] VITA, Inc.
1978
VITA
VOLUNTEERS
IN
TECHNICAL
ASSISTANCE
ABOUT VITA
Volunteers in Technical
Assistance (VITA) is
a private, nonprofit,
international development
organization.
Started in 1959 by a
group of concerned scientists
and engineers,
VITA maintains an extensive
documentation
center and worldwide roster
of volunteer
technical experts.
VITA makes available to
individuals and groups in
developing countries
a variety of information and
technical
resources aimed at fostering
self-sufficiency--needs
assessment and program
development
support; by-mail and on-site
consulting
services; information systems
training. It
also publishes a quarterly
newsletter and a
variety of technical manuals
and bulletins.
VITA
1600 Wilson Boulevard,
Suite 500
Arlington, Virginia
22209 USA
Tel: 703/276-1800 . Fax:
703/243-1865
Internet:
pr-info@vita.org
========================================
========================================