SAVONIUS ROTOR
CONSTRUCTION
Vertical Axis Wind Machines From Oil Drums
by
Jozef A. Kozlowski
published by
VITA
1600 Wilson Boulevard, Suite 500
Arlington, Virginia 22209 USA
Tel: 703/276-1800 * Fax:
703/243-1865
Internet: pr-info@vita.org
ISBN 0-86619-062-7
[C] VITA, Inc. 1977
INTRODUCTION
VITA is pleased to make available the work of Jozef A.
Kozlowski, who
has contributed his expertise in the areas of water, wind
and methane
power generation to technical problems worldwide through
VITA for
almost 10 years.
Kozlowski, who holds an advanced degree in engineering,
specializes in onsite consultations and project work
relating
to solving problems in developing countries.
Jozef Kozlowski has built two Savonius rotors -- one in
Wales and
the other in rural Zambia.
This manual details the construction of
these machines. Both
VITA and the author offer this manual with the
hope that it first puts the rotors in a perspective which
allows potential
builders to judge the applicability of such machines for
meeting their needs and then provides effective guidelines
for constructing
each.
The S-rotor, as it is more popularly known, is easy to
construct.
For this reason and others (not the least of which is that
an S-rotor
can be built for relatively small expense), people build
rotors
before they have investigated their own needs fully and/or
have
weighed these against the rotor's somewhat limited
potential. The
rotor will not meet all needs, and careful consideration of
all factors
and possibilities is essential for success.
For those who decide to build rotors, step-by-step
construction
details are provided.
The manual includes a two-stage rotor for
pumping water and a three-stage rotor designed to charge
automobile
batteries (the latter can be constructed using only hand
tools).
Both rotors depend upon use of discarded oil drums.
To provide additional information and guidance to the
potential
S-rotor builder, the author has reviewed a number of
articles and
books on the subject.
The reviews, which are included as an appendix
to this manual, are entirely an expression of the author's
findings and opinions.
September, 1977
The Savonius rotor -- also called the S-rotor -- is a
vertical-shaft
wind machine invented by Sigurd J. Savonius of Finland some
fifty
years ago.
The rotor is relatively easy to construct, especially if
made
from standard 45 Imperial gallon (55 US gallon) oil drums
which are
generally available throughout the world, at a nominal cost
for
second-hand drums.
Because it rotates on a vertical shaft, the rotor can turn
in wind
coming from any direction and will start turning in very low
winds.
<FIGURE 1>
11p01.gif (353x437)
A survey of available literature shows that the rotor is
very suitable
for manufacture in village and home situations and that it
is not difficult
to construct.
However, the author feels the potential user
should be aware of the fact that the Savonius rotor, when
compared to
other wind machines, may be less efficient and/or require
higher wind
speeds to achieve a power output more easily achieved by
another type
of wind machine.
The text on the following pages provides data compiled by
various
investigators on the amount of energy available from
S-rotors at
various wind speeds.
The author feels the potential rotor builder
should use these data carefully to see if an S-rotor can
meet his
needs--before he begins the construction process.
EXAMPLES OF POWER AVAILABLE FROM S-ROTORS
The following graphs provide specific figures on the power
available
from Savonius rotors.
Different rotors--reduced to the same size--are compared in
graphs 1 and 2
11p020.gif (486x486)

and the accompanying tabulation.
Graphs 3 and 4 show rotor output
11p03b.gif (600x600)
11p040.gif (600x600)
11p03a0.gif (600x600)

for a two-stage rotor and a rotor of 1m projected area
respectively.
Here "input" figures measure energy available
directly from the rotor.
"Output" figures take into account losses based on
the efficiencies
of pumps or electrical transmission.
Note that in graphs 1,
2, and 4, the energy input figures are given in
"watts per [meter.sup.2]."
The calculation of area is based on the
"windswept
area," or the total area swept by the rotor, as you are
looking
straight at it from the side (as the wind would).
Multiply the height
of the rotor by the width at its widest point (the distance
in a
straight line between the outer tips of a pair of vanes).
In graphs 1 and 2 the power per square meter of projected
area of
S-rotors is plotted against the wind speed, using test data
from
seven different sources.
Although there are differences, all the
results show that in wind speeds below 20mph the power
generation is
very small.
For example, the data from Bodek and Simmonds' experimental
S-rotor in
the West Indies shows that the useful energy from a 12mph
wind imparted
into pumped water is 8.5 watts/[m.sup.2].
This means that one can pump
75 Imperial gallons/hour up to 30' above the water level
(341
liters/hour up to 9,14m).
In an 8mph wind the useful energy is only
2.8 watts/[m.sup.2], which means that only 25 Imperial
gallons/hour (104
liters/hour) can be pumped to the same height.
Note that for a 33 percent decrease in wind speed, the water
output
-- which is proportional to the power generated by the S-rotor
--
dropped by approximately 66 percent.
The power developed in a wind
machine is proportional to the wind speed cubed.
The significance
of stronger winds is noticed immediately.
A 20mph wind will get the smallest commercial electrical
generator
working, producing about 100 watts of electricity.
About a 30mph
wind will be required for a car generator or alternator to
start
charging a 12-volt car battery.
It is up to the user to decide if it is worthwhile to build
an
S-rotor for winds of less than 20mph if stronger winds are
rare in
the area. Unlike
horizontal-axis wind machines, S-rotors will begin
turning in very low-speed winds -- but will produce only
small
amounts of usable power at those low speeds.
It is not possible to
give a precise formula for the power available at the
generator or a
pump because the friction and transmission losses are
largely dependent
on the design and accuracy of manufacture of the rotor.
Since
the rotor is intrinsically not very powerful, friction
losses due to
bad bearings and transmission losses could absorb most of
the
available power.
Therefore, proper construction and excellent
fitting of the bearings is most important.
DETERMINE IF AN S-ROTOR
IS SUITABLE FOR YOUR USE
It is very important to establish the following before
attempting to
build any wind machine:
Availability of wind.
Find how often wind comes, its intensity, and
its annual patterns.
This information can generally be gotten from
the nearest meteorological station.
An alternative and more accurate
method is to use an anemometer (wind speed measuring
instrument) to
measure wind speeds on a chosen site for a period of perhaps
one year.
Intended use of the windmill.
*
pumping water for household use
*
generating electricity
*
other applications
Choice of a suitable site.
The choice of site will of course depend
upon the intended use of the windmill.
Then it is very important to
select a location that will allow the windmill maximum
exposure to
wind, i.e., to get maximum power.
The top of a gently sloping hill with no trees, bushes or
other
obstructions to the wind is ideal.
However, if the windmill is to be used for pumping water,
often the
most likely place for a well is the bottom rather than the
top of the
hill, or even in the vicinity of buildings where the water
will be
used. If the site is
sheltered from the prevailing winds by buildings,
trees or other obstacles, it would be quite unsuitable for a
windmill -- unless it is built on top of a tall tower or on
top of a
building itself. If
this is the choice, then the windmill must clear
the tallest obstacle by a minimum of about 10'(3m).
If the rotor is to be used for charging batteries, the top
of a
nearby hill, clear of obstructions, would seem to be a
logical choice.
Take into account that power will be lost when transmitted
over a
distance, and locate the rotor as close as possible to the
place
where the, power will be used.
At almost any site, the higher the windmill is mounted, the
stronger
the winds will be. The
benefits of extra power should be compared
against additional costs of a tower or a support structure.
CONSTRUCTION
The author has built two S-rotors.
They are different in design and
construction method.
The first one, presented here as Rotor #1, is a two-stage
rotor (two
11p07a.gif (437x437)

oil drums, each split in half and stacked vertically in
pairs of
half-drums) attached to a water pump.
It can be duplicated easily
where suitable materials and workshop facilities are
available.
The second one, Rotor #2, is a three-stage rotor (three
pairs of
11p07b.gif (486x486)

half-drums stacked vertically) designed for hook-up to small
electric
power generating equipment.
Its method of construction would be
appropriate in rural conditions with access to a village
forge.
Access to a small machine shop, or something on that order,
would be
very helpful in the assembly of either of these rotors.
Some sort
of facility in which to form and cut mild steel will be
required.
Both rotors use split oil drums for vanes.
The drums are standard
45 Imperial gallon (55 US gallon) oil drums, which are
available
throughout most of the world; approximate dimensions of each
drum
are 34" (86cm) high x 20" (51cm) diameter.
A two-stage rotor, such as Rotor #1, which uses four
half-drums,
will produce approximately twice the power input of a
one-stage rotor
using two half-drums.
A three-stage rotor such as Rotor #2, using
six half-drums, will produce approximately three times the
power
input of a one-stage rotor.
A rotor having more than three stages would require design
modifications,
and would be difficult to build in rural conditions.
This is a two-stage S-rotor.
A connecting shaft is attached to a
positive-displacement rotary borehole (submersible) pump,
manufactured
by Mono Pumps (Engineering) Ltd. in England.
Water is pushed up the
borehole by a rotating screw-like mechanism.
The vanes of the S-rotor
are placed so the wind will turn the rotor in the same
(counterclockwise--looking
from the top) direction as that in which the Mono pump
operates. Using a
rotary pump of this type enables a direct rotor/
pump hook-up--with an extension piece connecting the S-rotor
shaft to
the shaft extending down the borehole to the pump.
IF YOU USE A
ROTARY PUMP MADE TO OPERATE IN A CLOCKWISE DIRECTION, MAKE
SURE TO
REVERSE THE DIRECTION OF ALL THE S-ROTOR, VANES FROM THAT
SHOWN IN
THESE PLANS.
VITA offers a number of technical bulletins containing plans
for pumps.
If you choose a pump that uses a reciprocating (back and
forth) motion
to lift the water, you will have to devise a mechanism to
convert the
rotary motion of the rotor to this kind of movement.
Expect a certain
loss in efficiency.
Diaphragm pumps may be used if placed on the
ground surface over a low head (that is, they cannot easily
be rigged
to operate down a borehole).
MATERIALS
* 2 standard 45
Imperial gallon (55 US gallon) oil drums
* One and a half
4x8' sheets of 1/2" thick plywood.
3 discs of 46"
diameter will be
cut from these. Marine quality plywood
is best.
* About 45' of
2x4" wood, for rotor support frame.
2 pieces must
have a continuous
length of about 13' each.
* 1 wood beam,
4"x4"x6'
* About an 8'
section of straight pipe (preferably steel), nominal
(approximate)
outside diameter of 1 1/4".
* About 1 sq. ft. of
1/4" thick flat mild steel sheet; about a 7"
length of mild
steel tube, with an inside diameter large enough
to slide over the
1 1/4" pipe (above), and 1/4" wall thickness.
These are to
fabricate disc support brackets.
* 1 - 1 1/2' of
solid steel bar, for shaft end pieces.
See "MAKE
SHAFT END
PIECES" (page 21) for further considerations.
* 2 roller bearings,
1" minimum inside (shaft) diameter, with housings.
The bottom bearing
must be self-aligning in all directions.
See
"BEARINGS,"
page 18.
* Bolts.
Nuts are not listed -- each bolt will take a
nut of the
appropriate
size. Note:
Bolt lengths are measured from the undersurface
of the head to the
tip.
*
To fasten disc support brackets to
discs: eighteen 3/8"x22";
thirty-six
3/8" look washers; eighteen 3/8" plain washers.
*
To fasten disc support brackets to
shaft: three 1/2"x3"; six
1/2" lock
washers.
*
To fasten drum brackets to discs:
about sixty or seventy 1/4"x2";
twice as many 1/4"
lock wasters.
*
To fasten shaft and pieces to shaft:
two 1/2" x 2 1/2";
four 1/2"
lock washers; two 1/2" plain washers.
*
Whatever number and sizes of bolts you need
to fasten the
particular
bearings you select to the bearing support beams.
* About 10 large
thick wood screws, 3 1/2" long, with good-sized
threads, to fasten
together rotor frame
* Cement, sand and
water to make about 2 cubic feet of concrete
for anchors
* A few feet of
about 1" thick boards to make anchor mold
* About 8'-12' of
1/2" diameter steel rod, for anchor loops
* Strong wire or
cable for guy wires. Length needed
depends on
number and
arrangement of guys you use.
* Screw eyes or
other strong connectors to fasten guy wires to
rotor frame
TOOLS
* Hacksaw; you also
may need a steel chisel (cold chisel), flame
torch, or cutting
electrode.
* Other hand
tools--including screwdriver, hammer, saw, round file,
wood rasp or
sandpaper, metal rasp, nails (a few 3 1/2" ones),
coping saw,
pliers, wooden mallet, wood chisel, wrenches
* Drill--electric or
hand, and a few different size bits, for wood
and metal
* Level; measuring
tape or rule; right-angle square
* Shovel
* Access to welding
equipment to fabricate disc support brackets;
access to forge to
cut aid form mild steel
* Access to a metal
lathe would enable you to form your own shaft
end pieces; access
to a milling machine would enable you to make
a top bearing
housing (although the author has made the bearing
housing on a lathe
alone)
* Tapping and
threading tools to make connection between bottom
shaft end piece
and shaft extension pump
PREPARE HALF-DRUMS
Take off removable top and bottom lids
from two 45 Imperial gallon (55 US gallon)
steel oil drums. If
lids are permanently
fixed to the drums leave them on.
Cut the drums vertically into two equal
halves. You can cut
with a flame torch,
electric cutting electrode, mechanically
with a saw (quite difficult) or a steel
chisel (cold chisel).
File away rough edges from all four half-drums.
Beat out any disfiguration to
shape with a wooden mallet.
<FIGURE 2>
11p11a.gif (353x353)
PREPARE DRUM (ATTACHMENT) BRACKETS
Slot the top and bottom lips of each half-drum with a
hacksaw. Slots
should be approximately 1" (2 1/2 cm) apart.
Small variations are
not important.
Open up the curls with a large screwdriver.
Call these "drum brackets."
Drill 1/4" holes in every third or fourth drum bracket
-- space the
holes as evenly as possible.
A hole must be drilled into the end
bracket of each side of the half-drum, top and bottom.
<FIGURE 3>
11p11b.gif (437x437)
Use a round file to remove the burrs and to open the holes
slightly,
if necessary, to accomodate 1/4" bolts.
MAKE THREE CIRCULAR WOOD DISCS
Draw three circles of 23" radius on 1/2" thick
plywood marine
quality is best).
Drive a nail into the Plywood at the point which
will be the center of each circle.
Tie one end of a string to the
nail and the other to a pencil--make sure the length of
string between
the nail and pencil measures 23".
Keep the string tight and
the pencil in a vertical position, and draw an accurate
circle.
After drawing the circles, spot check the distance from the
center of
each circle to the edge in several places.
Cut out the three circles. Smooth the edge of each disc with
a wood
rasp and/or sandpaper.
<FIGURE 4>
11p12.gif (393x393)
On one side of each disc, draw a line from edge to edge
through
the center. This
forms a diameter line.
On one of the discs draw a diameter line on the back side
exactly
at right angles to the line on the front side.
This disc will be
the middle of the three discs.
Draw a 2" diameter circle and an 8"
diameter circle around the center
of each disc, on the marked sides
(and on both sides of the middle
disc).
Drill a
hole in the
center of each
disc.
<FIGURE 5>
11p13a.gif (388x388)
MAKE DISC SUPPORT BRACKETS
Make three disc support brackets
by cutting, welding and drilling
mild steel plate and tube.
These brackets will attach
the plywood disc/half-drum
assembly to a pipe shaft.
Make sure each bracket
slides over a chosen,
straight 1 1/4" (nominal
-- that is, will not be
exact) diameter pipe at
least 8' long. (Lead
pipe
out of question--too heavy
and too soft.)
<FIGURE 6>
11p13b.gif (600x600)
INSTALL THE DISC SUPPORT BRACKETS
Center a disc support bracket on the marked side of one of
the wood
discs. Trace its
outside edge onto the disc.
Cut out the 2" diameter circle marked on the disc to
form a hole in
the center of the disc.
Use a 2" hole cutter, or:
drill holes all
round the inside of the marked 2" circle with a small
drill bit;
cut the spaces in between the holes with a sharp chisel,
tapping
gently with a hammer; smooth out the hole with a wood rasp
or file.
Hold the bracket firmly on the circle traced around its
edge.
Drill 3/8" holes into the wood through the six holes in
the bracket.
Insert bolts and washers and tighten nuts to fasten the
bracket
to the disc.
Repeat the same procedure to attach the other two brackets
to the
other two wood discs.
You may use either side of the middle disc
for this purpose -- in assembly the bracket will be
underneath the
middle disc.
<FIGURE 7>
11p14.gif (432x432)
PREPARE HALF-DRUMS AND DISCS FOR ASSEMBLY
As you go through the following preparations, mark all discs
and
half-drums so they can be reassembled later exactly as you
have
prepared them -- otherwise bolt holes will not align.
<FIGURE 8>
11p15a.gif (437x437)

Place one of the two discs marked on only one side flat on
the ground
with the support bracket facing up.
Mark this the bottom disc.
Place two half drums along the marked diameter line.
The two tips
A and B of each half-drum must be exactly on the line, and
the inner
tip A of each must also touch the circumference of the
8" circle
drawn on the disc.
<FIGURE 9>
11p15b.gif (285x353)
While the half-drums are in this position drill 1/4"
holes into the
disc through each hole in the drum brackets, inserting
1/4" bolts
and nuts, and lock washers (underneath the bolt head and the
nut) as
you go. Start with
the outer tip B of a half-drum, go directly to
the inner tip A, and then drill the holes in between -- this
will
stabilize the half-drum for most of the drilling.
<FIGURE 10>
11p16a.gif (393x393)
Place the middle disc flat on the ground with the support
bracket
facing up (that is, the bottom of the disc facing up).
Invert the bottom disc with the two attached half drums onto
it, so
that the free ends of the half-drums line up along the
marked diameter
line the same way as on the bottom disc.
The pattern will form a
mirror image of the bottom disc.
Drill holes through the drilled drum brackets in both
half-drum edges
into the middle disc.
If you bolt through some of the holes to assist
in drilling, remove the bolts when you are finished.
Remove the bottom disc and half-drum assembly.
<FIGURE 11>
11p16b.gif (393x393)
Flip the middle disc over on the ground.
Place the two remaining
half-drums in position along the diameter line.
(They will be at
right angles to the alignment on the other side of the
disc.)
Drill holes through the drilled drum brackets in the
half-drum edges
into the disc, bolting through some of the holes as you go.
<FIGURE 12>
11p17.gif (437x437)
Place the top disc flat on the ground with the support
bracket facing
up (that is, the bottom of the disc facing up).
Invert the middle disc with the two attached half-drums onto
it, so
that the free ends of the half-drums line up along the
marked diameter
line.
Drill holes through the drilled drum brackets in the
half-drum edges
into the top disc.
Take apart any discs and half-drums that remain together and
set
aside for final assembly later.
While handling the half-drums they may change shape
slightly, causing
bolt holes to move out of alignment with holes drilled in
the discs.
They may be brought into exact Shape when bolting up by
exerting hand
pressure.
BEARINGS
End pieces of the top and bottom of the rotor shaft each
rest
in a roller or ball bearing attached to a horizontal support
beam.
This insures smooth and efficient rotation.
It is important to
select good bearings and install them properly.
The author recommends using bearings with a minimum inside
-- or
shaft -- diameter of 1".
The bottom bearing must be self-aligning
in all directions, and must be capable of taking the dead
weight of
the rotor, which -- depending on its construction -- should
not
exceed 200 lb.; that is, the bottom bearing must withstand
both an
axial thrust and side loads of 200 lb.
The author has used a Fafnir 1" bearing type
RCJ P1 (bearing
#GC1100KRRB5) for the bottom bearing.
These are two other roller bearings which will do the job,
top or
bottom:
*
Seal Master MSFT-16 (or MSFT-16C with a
moisture-proof seal);
costs about
US$12.00 (may be more now).
*
Seal Master LFT-16 (or LFT-16C with a
moisture-proof seal);
costs about
US$6.50 (may be more now).
Bearings which provide for periodic lubrication without requiring
disassembly will ease the job of maintenance.
There may be many bearings that you can find ready to
install or
adapt to use in the rotor.
Keep in mind the loads involved, especially
for the bottom bearing.
Good bearings, installed properly, are essential
to the successful operation of the rotor.
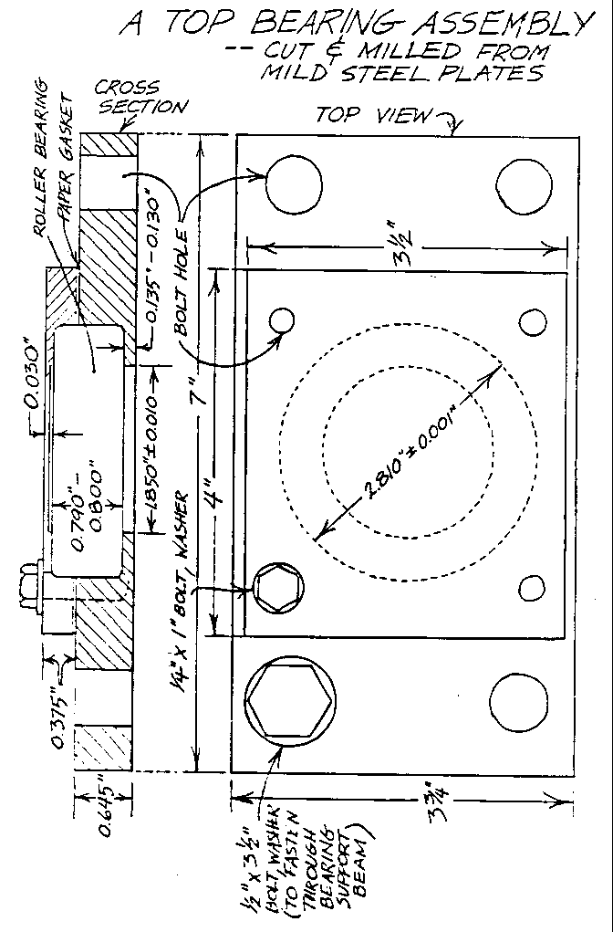
<FIGURE 13>
11p18.gif (486x486)
If you have access to workshop facilities you can make a
housing to fit
snugly around a suitable ball or roller bearing for the top
rotor
bearing. On the
opposite page are diagrams of the housing the author
made to fit around a bearing with an outside diameter of
2.81".
<FIGURE 14>
11p19.gif (600x600)

PREPARE BEARING SUPPORT BEAMS
Cut a 6'4" length of 2x4" wood beam for the top
bearing support beam.
It will rest and be fastened over the ends of the two tall
vertical
rotor frame supports.
Cut a 6' length of a 4x4" wood beam for the bottom
bearing support
beam. It will fit
and be fastened between the tall vertical rotor
frame supports.
<FIGURE 15>
11p20.gif (600x600)
The bearings will fasten onto the topside of each beam, at
the center
point. Drill or cut
a hole in the center of the 4" wide side of the
top bearing support beam large enough so that the end of the
rotor
shaft may extend up through to the bearing and rotate
freely, without
touching. Drill or
cut a hole in the center of the bottom bearing
support beam large enough so that the shaft extending down
to the
pump from the bearing will be able to rotate freely.
Drill holes through the beams in the pattern and sizes that
match the
holes in the flanges on the particular bearings you are
using. Take care
that your bearings will be accurately centered on each
support beam.
Fasten the bearings to each beam with bolts, nuts and lock
washers.
You may have to prepare the wood surface of the bearing
support beams
differently, with chisels, rasps and files, or use
good-sized, sturdy
shims, to accomodate bearings with housings of
configurations other
than a plain, flat under-surface.
THE BEARING HOUSING MUST SEAT
FIRMLY WHEN BOLTED.
MAKE SHAFT END PIECES
Solid steel end pieces fastened to the ends of the pipe
shaft provide
smooth surfaces to fit into the bearings.
Whether fashioned on a lathe or adapted to this application
from
already-fashioned materials, the end pieces must be of solid
steel
and -- especially important if the bearings you use are not
equipped
with set-screws to lock the shaft in place -- have a smooth
cylindrical
surface that makes an interference (tight) fit into each
inner
bearing surface.
If you fashion the pieces yourself, make the portion that
slides into
the pipe end the appropriate diameter to fit into the pipe
(you may
be able to file the inside surface of the pipe end
somewhat). Incorporate
into the shape of the bottom end piece a protruding collar,
with an under-surface milled smooth and flat, that will rest
on the
lip of the bottom rotor bearing.
A collar fashioned into the top end
piece may provide a surer fit into the particular bearing
you are
using, or may not be necessary.
The bottom end piece must be long enough to protrude out of
the bottom
of the bearing.
Drill out and tap the center of this end piece with
a left-hand thread to match the thread on the extension of
the shaft
of the Mono pump, which rotates counter-clockwise (as viewed
from the
top).
If you have no access to a lathe, find steel bar with a
diameter that
will fit tightly into each bearing that you have chosen to
use.
Depending on the bearing sizes and the actual inside
diameter of the
pipe shaft you are using, either grind down or build up
(with a sleeve)
at least a 3 or 4" length of each end piece to fit
snugly into the end
of the pipe shaft.
If the bottom bearing you are using does not have
set-screws to lock the pipe shaft positively in place, use a
locking
collar -- that can be purchased with some bearings -- around
the
protruding shaft of the bottom end piece, to rest on top of
the lip
of the bottom bearing.
A Seal Master MSFT16-T (or MSFT 16-TC with a
moisture-proof seal) is sold with a locking collar -- for
US$13.40
(may be more now).
You can do without a collar on the top end piece;
take care in final assembly to account in your measurements
for a
space between the lower lip of the top bearing and the
unmilled end
of the pipe shaft.
<FIGURE 16>
11p22.gif (540x540)
ATTACH THE BOTTOM END PIECE TO THE PIPE SHAFT
Trim the bottom end of the pipe shaft to remove any
threads. If
necessary, file the inside surfaces to accomodate the shaft
end piece.
Push the pipe end of the bottom shaft end piece into the
pipe until
the collar rests on the pipe end.
Mark 1" from the end of the pipe
with a punch. Drill
a 1/2" hole through the pipe and the end piece,
and deburr it.
Keeping the end piece in place, bolt through the
hole with a 1/2" x 2 1/2" bolt and tighten down
with nut and washers.
ASSEMBLE THE ROTOR
Seat the bottom end of the pipe shaft in the bearing on the
4x4" bottom
bearing support beam.
Support the bottom beam about three feet off the ground,
with the
pipe shaft projecting out sideways from it.
Slide the bottom plywood disc over the top end of the shaft,
with the
disc support bracket facing the top end.
Position the bottom face of
the disc 2 1/2 - 3" away from the top side of the
bearing.
Holding the bracket firmly, drill a hole large enough to
accept a
1/2" diameter bolt through the hole in the bracket collar
and the
pipe, and back out through the other side of the bracket
collar.
(If necessary, undo the bolts holding the support bracket to
the
disc and remove the disc.)
Insert a bolt through the bracket and
pipe, and tighten with lock washers and nut.
Bolt back the disc if
you have removed it.
Bring one of the bottom half-drums into position against the
bottom
disc -- make sure to match the correct half-drum to the
position on
the disc according to the marking system you have set
up. Fasten it
firmly against the disc with bolts, nuts and lock washers.
Slide the middle disc over the top end of the shaft with the
support
bracket facing the bottom end of the Pipe shaft.
Bolt it firmly to
the top end of the bottom half-drum that is in place.
<FIGURE 17>
11p23.gif (486x486)
Drill a hole through the support bracket collar and pipe as
before
-- 1" away from the bracket flange, and large enough to
accept a
1/2" diameter bolt.
Insert a bolt and tighten with lock washers
and nut.
Place the remaining bottom half-drum in its marked position
between
the two discs and bolt into place.
Fasten the top disc to the pipe shaft:
* fasten one of the
top half-drums to the middle disc.
* slide on the top
disc -- support bracket facing down -- and
bolt to the top of
the half-drum.
* drill and bolt the
support bracket to the pipe shaft.
* bolt the remaining
top half-drum into place.
Bolt any remaining un-bolted drum brackets to the discs.
Leave about 6" of pipe projecting beyond the top
disc. Cut any
remaining pipe off squarely, and remove any sharp edges.
File the inside of the pipe so the top shaft end piece makes
a push
fit with the pipe.
With the end piece in place, drill a hole
all the way through it and the pipe, about 1" away from
the pipe end.
Insert a 1/2" x 2 1/2" bolt and tighten with
washers and nut.
Seat the top shaft end piece in the bearing on the 2x4"
top bearing
support beam.
Support each end of the beam about three feet off the
ground, just like the bottom beam.
BEARING MOVEMENTS
The rotor must rotate freely in the bearings, without
resistance.
The pipe shaft should be at right angles to the plane of
rotation of
each bearing. The
bearing support beams should be parallel to each
other. If either of
the bearings you use are adjustable with set-screws,
and the rotor does not turn freely enough, loosen the
bearing
from the beam, adjust the screw, and then tighten the
bearing back to
the beam. Test the
adjustment by giving the rotor a turn.
Repeat as
necessary until smooth movement is achieved.
If there is no way to
adjust the shaft placement in the bearings you use, you may
have to
make slight compensations in the placement of the bearing
support
beams relative to the pipe shaft.
Balance the rotor according to the procedure giver on page
39. Final
adjustments should be made on the rotor in its final,
vertical position.
NOTE: New bearings
may be stiff until they are broken in a little.
because of the (grease) packing.
Turr the rotor a number of times
to begin this process.
Do not confuse tight movement with rough
movement.
BEGIN ERECTING THE ROTOR FRAME
You may assemble the frame and rotor on the ground and then
erect into
position; or proceed as follows.
Sink two tall 2x4" wood vertical frame supports into
the ground so that
their inside surfaces are 6' apart, and two shorter pieces
of 2x4" wood
right up next to the inside surface of each of the taller
supports.
All the supports should be firmly embedded in the ground.
The bottom of the rotor should be about waist high.
Cut each of the
tall vertical supports long enough to include the portion
that will be
in the ground, the distance from ground to waist, a distance
equivalent
to the height of the rotor itself (from the point where the
top bearing
meets the shaft to the point where the bottom bearing meets
it), plus
an extra foot or so.
The top ends of the shorter supports should be at least
waist height;
the bottom bearing support beam will rest on them.
This beam should
be perfectly horizontal, so make sure the ends of the short
supports
are aligned at the right heights.
Nail them into the tall supports.
<FIGURE 18>
11p25.gif (540x540)
MAKE ANCHORS AND ATTACH GUY WIRES
You must provide some sort of anchors and guy wires to
stabilize the
rotor frame.
Sturdiness and structural integrity are important not
only to protect the machine in high winds, but also to
insure minimum
wear on the moving parts in ordinary winds.
Four or six of these concrete anchors will work well.
If you substitute
some other device, make sure it will hold firmly in the ground
against strong pulls that may be exerted by the machine and
frame in
high winds.
Hot-form 1/2" thick steel
rods to this shape.
Start
with about a 2' length for
each piece.
<FIGURE 19>
11p26a.gif (317x317)
Make a wood mold.
Pour
in a standard mix of
cement, sand and
water.
<FIGURE 20>
11p26b.gif (437x437)
Push a formed steel rod
into place in the wet
concrete mix. Allow
to
set for 24 hours, in the
shade. Tap the mold
to
lift it off the anchor.
<FIGURE 21>
11p26c.gif (353x353)
Make the rest of the anchors.
When all dry -- they are strongest
after curing for a week -- bury them in the ground with the
loop in
the steel rod just above the ground surface.
The anchors must be
placed far enough away from the rotor frame so the guy wires
can exert
a good pull against movements in the structure -- but not so
far away
that the wires are too long and elastic.
Attach guy wires -- good, strong wire or cable -- to the
anchor loops
and to screw eyes (or some other type of strong connector)
placed
near the tops of the tall vertical frame supports (make sure
to attach
them below the point where the supports will be cut off to
correctly
position the top bearing support beam when the rotor is in
place).
Make them tight enough now to keep the rotor frame in
position while
installing the rotor, but not so tight that they pull the
top ends
of the tall vertical supports away from each other.
Turnbuckles
along the wires will help you adjust the wires for maximum
tightness
after installing the rotor into the frame.
FINAL ASSEMBLY
Remove the bottom bearing support beam, with bearing
attached, from
the rotor assembly.
Place it horizontally between the tall vertical
frame supports with the ends resting on the top ends of the
shorter
vertical supports.
Hold in position and drill holes for large wood
screws through the tall vertical supports and into each end
of the
beam. Screw the beam
into place.
On the rotor assembly, measure the distance from the bottom
surface
of the collar on the bottom bearing end piece to the bottom
surface
of the top bearing support beam, which is in place on the
pipe shaft.
Add the thickness of the bottom bearing housing to this
figure. Mark
off the distance of this total measurement on each tall
vertical frame
support, starting upwards from the top surface of the bottom
bearing
support beam. Cut
off the top of each vertical support squarely at
this mark.
Remove the top support beam from the rotor assembly and
place it
over the free ends of the vertical supports, bearing on
top. Hold
or clamp in position and drill holes for large wood screws
through
it and down into the vertical supports.
Do not split the wood.
Remove the beam.
Raise the rotor into position.
This is at least a two-man job.
Push the bottom shaft end piece down into its bearing,
tapping
gently if necessary.
While the rotor is being held up by hand,
position the top beam.
Slide the bearing down over the end piece
on the end of the pipe shaft, tapping gently with a mallet
or heavy
piece of wood. Screw
the ends of the beam down into the vertical
supports.
If the bottom bearing support beam has been installed
perfectly level,
and the pipe shaft is vertical -- at right angles to the
beam, and
the bottom bearing is properly aligned in its housing, then
the rotor
should rotate smoothly in that bearing.
If there is any roughness in
the rotation of the shaft end piece in the top bearing, you
may try
to make further adjustments (in an adjustable bearing) in
the
alignment of this bearing.
If that doesn't do the job (or the bearing
is not adjustable), you can try inserting shims between one
end or
the other of the top beam and the top end of the vertical
support
until there is smooth movement of the shaft in the bearing.
It is very important that the rotor turn freely.
The bearings,
especially the bottom one, could be ruined, with consequent
damage to
the rotor and frame, if improper bearings and installation
procedure
cause uncontrollable stresses and strains as the machine
turns continually
in the wind.
Take your time and be as resourceful as you can in these
final steps.
It is possible that you may have to do something like the
following:
* dismantle the
rotor from the frame to make adjustments.
* plane down the
wood surface of a beam under the bearing to adjust
the bearing to the
correct angular relationship to the rotor shaft.
* go to a better
bearing than one you were hoping would work.
Whatever you do now to get the rotor running smoothly will
be worth
the trouble you are thereby going to avoid later.
You may find it easier to make the final assembly on the
ground in a
horizontal position and raise it up after assembly by means
of ropes.
At least half a dozen men are required for this final
operation.
This is a three-stage rotor design that the author built in
rural
Zambia. By means of
belts and a bicycle wheel pulley mechanism it
is geared to drive an automobile alternator or generator,
which
generates electrical current that is stored in automobile
batteries.
<ROTOR 2>
11p29.gif (600x600)

An understanding of the procedures followed in assembling
Rotor #1
11p08.gif (540x540)

will help you in putting this rotor together.
Specific references are
frequently made here to steps in Rotor #1 assembly where the
same
procedures or other information apply, rather than repeat
the same
material; but even in other steps it may be helpful to read
through
the corresponding material given for Rotor #1.
MATERIALS
* 3 standard 45
Imperial gallon (55 US gallon) oil drums
* About 32' of
12" wide x 1" thick boards, to be used in 3 1/2 - 4 1/2"
lengths, for rotor
discs
* About 10' of steel
angle for disc braces
* About 14' of flat
steel strip for disc braces
* About 5' of
1/4" thick x 1 1/2" wide steel strip, for disc/shaft
brackets
* About 2' of
1/8" thick x 1" wide steel strip, for lid/shaft
brackets
* A 10' length of
straight pipe, 1 1/4" nominal (that is, will not
be exact) outside
diameter.
* 1 - 1 1/2' of
solid steel bar, for shaft end pieces.
See "MAKE
SHAFT END
PIECES," page 21, Rotor #1 and page 38, Rotor #2 for
further
considerations.
* 2 roller or ball
bearings, 1" minimum inside (shaft) diameter,
with
housings. The bottom bearing must be
self-aligning in all
directions.
See "BEARINGS," page 18, Rotor #1.
* 6 straight, sturdy
wood poles (4 - 8" diameter), for rotor frame:
2 poles
approximately 17' long for vertical supports; 4 poles
approximately 10'
long for horizontal supports.
* About 10' of
1/2" diameter mild steel rod, for U-bolt frame
brackets
* About 3' of
3/16" thick steel angle, for frame brackets
* Up to 12' of
3/16" thick steel angle for bearing mounts
* Cement, sand and
water to make about 4 cubic feet of concrete
for anchors
* A few feet of
about 1" thick boards to make anchor mold
* About 8' - 12' of
1/2" diameter steel rod, for anchor loops
* Strong wire or
cable for guy wires. Length needed
depends on
number and
arrangement of guys you use.
* Screw eyes or
other strong connectors to fasten guy wires
to rotor frame
* An assortment of
bolts, nuts or other small, heavy objects to
balance the rotor
* BOLTS.
Nuts are not listed -- each bolt will take a
nut of the
appropriate
size. Note:
Bolt lengths are measured from the undersurface
of the head to the
tip.
*
To fasten drum brackets to wood discs and to
each other: about
sixty or
seventy 1/4" x 2"; twice as many 1/4" lock washers.
*
To fasten braces to wood discs:
about fifty or sixty 1/4" x
2 - 2
1/2", and twice as many lock washers.
*
To fasten disc/shaft brackets to pipe
shaft: four 1/2" x 2 1/2";
eight 1/2"
lock washers.
*
To fasten disc/shaft brackets to wood
discs: sixteen 1/2" x
2 1/2";
thirty-two 1/2" lock washers.
*
To fasten lid/shaft brackets to pipe
shaft: two 1/2" x 2 1/2";
four 1/2"
lock washers.
*
To fasten lid/shaft brackets to half-drum
lids: eight 1/2" x
2 1/2";
sixteen 1/2" lock washers.
*
To fasten bearing mounts over bearing
support poles: eight 1/2"
x 5" -
7"; sixteen 1/2" lock washers.
*
To fasten bearings to mounts:
appropriate number and sizes,
according to
the particular bearings you use.
*
sixteen 1/2" nuts for U-bolt frame
brackets; eight 1/2" lock
washers.
for accessory equipment:
* for rotor
brake: 2-3' of 2" diameter wood
pole; hinge and screws;
small coil spring;
a few feet of cord; small pieces of rubber.
* for transmission
pulley and holder: bicycle wheel
without tire; 1"
thick board, 1
square foot; about 4' of 1/4" thick, 2" wide steel
strip; a few
bolts, nuts, washers, and wood screws.
* tire inner tube(s)
to make transmission belts.
* up to 6' of
3/16" thick steel angle, appropriate numbers and sizes
of bolts, nuts and
lock washers -- to mount alternator or generator.
The following
equipment must be compatible in operation
-- as if from the
same automobile or other similar
system (author has
used auto parts):
* alternator or
generator
* voltage regulator
* storage battery or
batteries
* suitable wire for
hook-ups
TOOLS (the author used only handtools to construct this
rotor)
* hacksaw; you also
may need a steel chisel (cold chisel),
can use a flame
torch if available
* other hand tools
-- including screwdriver, hammer saw, round
file, wood rasp or
sandpaper, metal rasp, wood chisel, small
carving tool,
wrenches
* drill -- electric
works best --, and a few different size
bits, for wood and
metal
* level; measuring
tape or rule; right-angle square
* access to a simple
forge, or some facility to cut and form
mild steel
* threading tool to
thread 1/2" steel rod -- if you make
metal rotor frame
brackets
* shovel
You may have to find someone or some way to machine a
cylindrical
surface of the appropriate diameter onto steel bar, to fit
into
bearings.
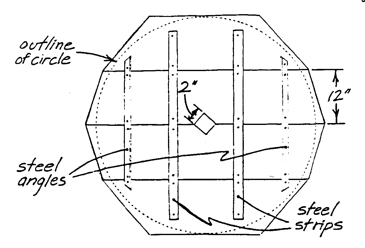
MAKE WOOD DISCS
Make two wood discs.
In this design there is only a disc at the top
and a disc at the bottom of the rotor; there are no discs
between the
stages.
For each disc, lay four 12" wide boards (1" thick)
side by side.
Though the boards may be different lengths, they must be
arranged so
a 48" diameter circle can be traced on them.
Tack the boards for each disc together temporarily.
Trace the circular
outline of the discs onto each set of boards with a pencil
on the end
of a 24" length of string which is attached at the
other end to a nail
driven into a point marked as the center.
Check the accuracy of the
circle by measuring from the center to the edge in several
places.
<FIGURE 22>
11p33a.gif (393x486)
Fasten and brace the boards together with two parallel metal
strips
and small backup strips on opposite side each -- two
angle-shapes
toward the outside of the circle and two flat strips nearer
the center.
Cut each disc to shape along the edge of the circle you have
traced.
On the unbraced side of each disc, trace an 8" diameter
circle around
the center. Draw a
diameter line on each disc, at right angles to the
seams between the boards.
Cut a square with 2" sides at the center of each
disc. Center the square
as accurately as possible.
<FIGURE 23>
11p33b.gif (353x486)
Prepare six half-drums from three standard
45 Imperial gallon (55 US gallon) oil drums.
Take off any removable lids, and cut each
drum vertically into two equal halves.
<FIGURE 24>
11p34a.gif (353x353)
In the same way shown on page 11 in the
instructions for Rotor #1, make drum brackets
to fasten the half-drums to the wood discs,
and to each other.
Two stacks of three half-drums
each will form this rotor.
At about
five (or more) points on each set of joining
edges make the brackets line up evenly
enough to drill a hole through each pair
(see drawing below).
If the drums each had a removable lid at
one end, you must also take care to plan
that there will be a lid on a half-drum at each joining
point between
the stages of the rotor -- to provide a means of attachment
to the rotor shaft.
The brackets on the half-drum edges that will fasten to the
wood
discs may be prepared without regard to alignment.
As in Rotor #1,
drill into every third or fourth bracket.
Mark each half-drum as you prepare it in this way, so you
will know
which ones belong together.
Drill all holes large enough to accept 1/4" bolts.
<FIGURE 25>
11p34b.gif (353x353)
ASSEMBLE THE HALF-DRUMS AND DISCS
Place the appropriate edge of one of the half-drums that
will fasten to a disc onto the marked side of the bottom
disc (the one with the groove around the edge).
Touch
the two tips to the marked diameter line, and the inner
tip to the circumference of the marked 8" diameter
circle. Starting
with the tips, drill through the
holes in the drum brackets into the disc, bolting
as you go with 1/4" diameter bolts, nuts and
lock washers.
<FIGURE 26>
11p35a.gif (227x534)
Repeat this procedure to fasten the other
half-drum to this same disc, placing it
opposite the first half-drum and aligning the
tips in the same way.
Repeat this whole procedure to fasten the two
appropriate half-drums to the top wood disc,
MAKING SURE TO MIRROR THE CONFIGURATION ON
THE BOTTOM DISC.
Complete the assembly of the drums and discs
by bolting (or riveting if you wish) the
remaining half-drums into place between the
two disc/half-drum assemblies.
Follow your
marks on the half-drums to get the right
joints together. Any
changes in shape in
the half-drums caused by handling can be
overcome by hand pressure.
Cut a triangular-shaped notch with
2" sides into each half-drum lid
between stages, centered 4" from the
inside edge of each stack.
These
notches will fit around the pipe
shaft.
<FIGURE 27>
11p35b.gif (437x437)

PREPARE BRACKETS TO ATTACH DISCS AND HALF-DRUMS TO PIPE
SHAFT
Prepare four disc/shaft brackets each of the following two
sizes
from steel strips (eight brackets altogether).
These brackets
will attach the wood discs to the pipe shaft.
<FIGURE 28>
11p36a.gif (437x437)
Bend right angles into
red hot steel. Drill
holes to accept 1/2"
bolts when the strips
are cool.
<FIGURE 29>
11p36b.gif (437x437)
Make four lid/shaft brackets
of the following size from
steel strips. These
will attach
lids of half-drums between
rotor stages to the pipe shaft.
<FIGURE 30>
11p36c.gif (437x437)
ASSEMBLE THE ROTOR
Select a 10' length of straight steel pipe with a 1
1/4" nominal
(that is, will not be exact) outside diameter.
Push the pipe through the square hole in one of the wood
discs,
through the notches in the half-drum lids, and out the
square hole
in the wood disc at the other end of the rotor.
Approximately equal
lengths of the pipe should extend out from each end of the
rotor (at
least 6" on each end).
Fasten 4 disc/shaft brackets -- 2 of each size -- in a cross
formation
onto the outside surface of one of the wood discs, so that
the 5" arms
are on the disc and the shorter arms make opposite pairs up
against
the pipe shaft. The
brackets with 2 1/2" vertical arms should be
across from one another, and the brackets with 3 1/2"
vertical arms
should be across from one another.
Place them first, mark the positions,
and drill 1/2" diameter holes through the bracket holes
into
the wood disc and into the pipe shaft.
Insert 1/2" x 2 1/2" bolts
and tighten with nuts and lock washers.
The 2 bolts through the pipe
will form a cross, one above the other.
<FIGURE 31>
11p37.gif (353x353)
Repeat this procedure with the 4 remaining disc/shaft
brackets on the
wood disc and the pipe shaft at the opposite end of the
rotor.
Fasten pairs of the smaller, lid/shaft brackets to the
half-drum lids
and the pipe shaft at each place where the lids are notched
to let
the pipe shaft pass through.
Place them opposite each other, one on
each half-drum lid.
Use 1/2" x 2 1/2" bolts, nuts and lock washers.
<FIGURE 32>
11p38.gif (393x393)
BEARINGS
End pieces attached to the top and bottom ends of the rotor
shaft each
rest in a roller or ball bearing mounted on horizontal
support poles.
This insures smooth and efficient rotation.
It is important to select
good bearings and install them properly (good second hand
bearings may
be used).
Follow the same considerations given in
"BEARINGS," page 18, Rotor #1.
MAKE SHAFT END PIECES
Solid steel end pieces fastened to the ends of the pipe
shaft provide
smooth surfaces to fit into the bearings.
See "MAKE SHAFT END PIECES," page 21, Rotor #1 for
specific information.
For this rotor, both shaft end pieces may be made the same
-- like the
top end piece in Rotor #1.
No extra length is needed on the bottom end
piece to attach to a pump extension shaft.
ATTACH THE END PIECES TO THE PIPE SHAFT
Cut off each end of the pipe shaft squarely about 3"
beyond the edges
of the disc/shaft brackets -- if there is that much pipe; if
not,
simply make sure that the ends are trimmed squarely.
If necessary,
file the inside surfaces to accomodate each shaft end piece.
Push the pipe end of one of the end pieces into one end of
the pipe
until the collar rests on the end of the pipe.
Mark 1" from the end
of the pipe with a punch.
Drill a 1/2" hole through the pipe and the
end piece, and deburr it.
Keeping the end piece in place, bolt through
the hole with a 1/2" x 2 1/2" bolt and tighten
down with nut and lock
washers.
Repeat the sane procedure for the other end piece on the
other end
of the pipe shaft.
BALANCE THE ROTOR
Prepare two simple wood pole tripods.
Place the top bearing in one
and the bottom bearing in the other.
Suspend the rotor horizontally
between the tripods, with the shaft end pieces in the
bearings. The
bearings must be operating smoothly in order to detect any
other causes
of uneven movement in the rotor.
<FIGURE 33>
11p39a.gif (317x393)
Give the rotor a few twists.
If it tends to
stop in the same position every time, then the side
that comes to rest at bottom is the "heavy side."
Tape one or more bolts close to the edge of the
top side of each wood disc -- equal number on
each disc. Spin the
rotor again. Keep adjusting
the number, size and position of the bolts until
the rotor stops in any position.
Drill holes in the discs about 1 1/2" from the
edge in the areas where the bolts were temporarily
attached and insert them in the holes.
If you
drill the holes slightly Smaller than the outside
diameter of the bolts, then the bolts may be
turned in like screws.
Otherwise fasten them with
nuts and washers; if you do this then the nuts and
washers must be used in the balancing process.
<FIGURE 34>
11p39b.gif (317x317)
After the balancing bolts or equivalent weights are placed
in position,
spin the rotor again to make sure it is well balanced.
If the rotor
is poorly balanced it will shake apart at higher speeds.
THE ROTOR FRAME
The frame which will support the rotor is in the same basic
configuration
as the support frame for Rotor #1, with these differences:
* it is taller
* it is wider, to give room for a pulley and an alternator
or
generator mounting.
* it uses locally cut wood poles instead of boards that are
cut at
a sawmill.
* the horizontal supports (bearing supports) are in pairs --
notched
and bracketed,
lashed or otherwise fastened around the vertical
supports.
Cut the straightest, strongest wood poles you can find
(4"-8" diameter).
The frame is designed to combine strength and simplicity of
construction.
Joints in the frame must be fastened together securely.
One way is
to make 4 frame brackets from 1/2" diameter mild steel
rod. Bend
suitable lengths to a U-shape while red hot.
Thread the ends.
Drill
2 holes in a section of steel angle to accomodate the ends
of the
U-bolt.
<FIGURE 35>
11p40.gif (540x540)

ANCHORS AND GUY WIRES
The rotor frame should be stabilized with at least 4
(preferably 6)
guy wires running from the frame to anchors that are firmly
embedded
in the ground. See
"MAKE ANCHORS AND ATTACH GUY WIRES," page 26,
Rotor #1 for an anchor design and infortnation on guy
wires. Do not
attach guy wires now; the frame will be assembled to this
rotor before
it is raised into position.
BEGIN ASSEMBLING THE FRAME
It will be better to assemble the rotor and frame on the
ground, and
then raise into position -- since the whole structure is so
tall.
The bottom of the rotor should be at least waist high; so
cut the
vertical support poles long enough to include:
a 2' or 3' portion
that will be in the ground; the distance from ground to
waist; a
distance equivalent to the height of the rotor (from pipe
end to
pipe end); plus an extra foot or so.
(It should be remembered the
higher you mount the rotor above ground the better.)
Lay the vertical supports about 8' apart, parallel to each
other.
Place a pair of 10' poles across from one to the other, so
that they
cross the vertical supports at points that will be about
waist high,
and at right angles to the vertical supports. These will be
the
bottom bearing supports.
Check for right angles, and mark the places where all the
poles cross.
Notch all the poles a little at these places.
Fasten together, checking
to maintain the right angles.
If you are using U-bolt brackets to fasten the poles,
tighten the
steel angle up against the wood with nuts and lock washers,
and then
tighten another nut up against each nut, for extra locking.
MAKE BEARING MOUNTS; INSTALL THE BOTTOM MOUNT AND BEARING
Each of the 2 bearing housings will bolt to the inside of
steel angle
assemblies that are bolted around the top and bottom bearing
support
poles.
Since the bottom bearing support poles are already
installed, you can
judge the lengths of steel angle-needed to cross over the
top bearing
support poles also.
Cut 8 lengths of steel angle.
Drill one 1/2"
hole at each end of all 8 pieces.
Position the holes so they will
line up vertically with each other when the angle pieces are
paired.
Work from the center point of each piece.
Drill holes in the top two
pieces of each bearing mount to accommodate the particular
bearings
you are going to use.
Install the bottorn mount onto the bearing support
poles. Place it
over towards one side, leaving enough room for the wood
rotor disc
to clear the vertical support.
Center the mount across the poles.
Bolt in place with nuts and lock washers.
Remove the bottom bearing from the end of the rotor on the
tripod
and install onto the mount with bolts, nuts and lock
washers.
<FIGURE 36>
11p42.gif (353x353)
ASSEMBLE THE ROTOR AND FRAME
Remove the rotor frorn the tripods and lay it on the
ground. Bring
the portion of the rotor frame that is completed up around
it. Push
the bottom shaft end piece as far down as it will go into
its bearing,
which has just been mounted onto the support poles.
Assemble the top bearing mount and bearing loosely onto the
top
bearing support poles, in approximate position.
Bring the top bearing support poles into position,
straddling the
vertical supports.
Slide (tap gently if necessary) the bearing
over the top shaft end piece of the rotor as far as it will
go.
Check these alignments:
* The rotor shaft
should be parallel to the vertical support poles.
* The top bearing
support poles should be parallel to the bottom
bearing support
poles.
* The plane of
rotation of the top bearing should be perpendicular
(at right angles)
to the rotor shaft. This also applies
to the
bottom bearing.
Mark, and then notch, the top bearing support poles and the
vertical
supports where they cross.
Fasten them together, maintaining all
alignments. Tighten
the top bearing to its mount and the mount to
the support poles.
Support the frame horizontally, with the rotor in it, on
temporary
supports high enough off the ground so you can spin the
rotor. The
rotor must rotate freely in the bearings, without
resistance.
Check all frame/rotor shaft/bearing mount alignments.
You can make
angular adjustments in the bearing mounts by inserting
good-sized,
sturdy shims. Loosen
and retighten bolts and nuts as necessary.
If either of the bearings you use is adjustable with
set-screws,
you may further adjust for smooth movement.
Loosen the bearing
slightly from the mount to make these adjustments; then
re-tighten.
NOTE: New bearings
may be stiff until they are broken in a little,
Because of the (grease) packing.
Turn the rotor a number of times
to begin this process.
Do not confuse tight movement with rough
movement.
Final adjustments may best be made when the rotor is in its final,
vertical position.
INSTALL THE FRAME IN THE GROUND AND SUPPORT WITH GUY WIRES
Determine where you will place your anchors and bury them in
the
ground, with the connectors for the guy wires remaining
above ground.
Attach screw eyes, or some other strong connectors, near the
top of
the rotor frame and fasten guy wires to them.
Dig two holes 2 or 3' deep, 8' apart.
Raise the rotor and frame up
vertically, placing the vertical supports into the
holes. This is
at least a six-man job.
The bottom of the rotor itself should be at
least waist high.
Pack earth firmly around the vertical supports in
the holes.
Pull guy wires tight through the connectors in the anchors,
and
fasten them.
Turnbuckles installed along the wires will help you
adjust the wires for maximum tightness.
Read through the last few paragraphs of "FINAL
ASSEMBLY," Rotor #1
beginning with the last paragraph on page 27.
The same basic considerations
apply (excepting any planing of the beams).
CONSTRUCT AND INSTALL ACCESSORY EQUIPMENT
Rotor Brake
A hand-operated brake can slow or stop the rotor in high
winds that
might damage it.
Attach a rubber-padded wood pole (of about 2" diameter)
on a hinge to the vertical support next to the rotor, at the
exact height of the wood edge of the bottom rotor disc (that
is, not
over the groove where the transmission belt will be).
A spring keeps
the brake lever away from the disc.
Pull a cord (running through a
guide attached to the vertical support) to bring the
rubber-padded
end of the lever against the rotor disc.
<FIGURE 37>
11p44.gif (353x353)
A positive lock can be made by drilling a hole near the edge
of the
bottom rotor disc to accommodate a 1/2" rod on a piece
of cord. The
rod would engage a hole in a small plate screwed to the
bottom bearing
support poles underneath the rotor disc.
Transmission Pulley
Make a pulley from a bicycle wheel (without tire) and a wood
disc.
Assemble them onto a "fork" and fasten the whole
assembly onto the
rotor frame with a bracket.
Cut a 10" diameter wood disc from a 1" thick
board. Cut a rounded
groove into its edge that is 1/2' wide and 1/2"
deep. Drill a hole
into the center of the disc to accept the end of the bicycle
wheel
axle. Drill 3 holes
into the disc in a symmetrical arrangement
around the center hole.
Slip the disc over the bicycle wheel axle
and bolt tight. Push
bolts through the 3 holes, through the
bicycle wheel spokes, and into small plates hooked behind
the spokes -- tighten
lock washers and nuts onto the bolt ends behind the small
plates. The heads of
these 3 bolts must be countersunk into the
wood disc so they do not project above its surface -- to
keep them
out of the way of the large bracket, or "fork,"
that will hold the
wheel and disc to the rotor frame.
Make a U-shaped "fork" out of 1/4" thick
steel strip measuring 2"
across. Start with a
piece approximately 3' long.
Make a bracket from 1/4" thick steel strip, 2"
across.
Fasten the pulley holder to the bicycle wheel axle.
Bolt the small
bracket to the pulley holder.
Whittle a groove into the rotor frame vertical support that
is a few
feet distant from the rotor.
Make the groove on the outside of the
pole, slightly above the bottom bearing support poles, and
at a 15 - 25 [degree]
angle to the horizontal.
Screw the bracket that is bolted to the pulley holder into
the vertical
support at this groove, with large wood screws.
<FIGURE 38>
11p45.gif (393x393)
A transnission belt can be made from an old automobile inner
tube,
provided the rubber is still elastic.
An approximately 1" wide
strip is cut "spirally" along the tube with a
razor blade so that
it is a continuous strip.
Well over 100' of such strip can be cut
from one inner tube.
This is then twisted, and looped around the
groove of the bottom rotor disc and the groove in the
10" wood disc
that turns with the bicycle wheel.
Tighten the belt, cut overlapping
ends, tie a knot, and bury the knot in the twisted rubber.
ALTERNATOR OR GENERATOR
Mount an automobile (or other similar) alternator or
generator onto
the bottom bearing support poles of the rotor frame, between
the
rotor and the vertical support with the transmission pulley
on it.
Use bolts, steel strips and steel angles to secure it, and a
wood
wedge to incline it at a 10-20 [degrees] angle.
<FIGURE 39>
11p46.gif (486x486)
Make another transmission belt and loop it around the
bicycle wheel
and the pulley on the alternator or generator.
ELECTRICAL CONNECTIONS
The wire connections and other electrical equipment such as
voltage
regulator should be similar to those in automobiles.
Preferably
suitable equipment from the same automobile should be used.
NOTE: As small as
possible alternator/generator should be used as
the more powerful machines will not turn in the lighter
winds.
Two typical wiring diagrams are shown.
Standard automobile parts
might be used but must be compatible.
That is, an appropriate voltage
regulator to the alternator and the battery to be charged
must
be used. (Space
limitation here does not allow elaboration on the
generating equipment.
Reference should be made to the literature
on the subject or an experienced auto-mechanic should be
consulted.)
Both the alternator and the generator circuit should be in
principal
the same as those in the motor cars from which they were
removed.
alternators
or generators require fewer rpm's of the rotor
to "cut in" and begin generating electricity.
<FIGURE 40>
11p47.gif (600x600)
APPENDIX
An Overview of Some S-Rotor Publications . . .
1. The Wing Rotor in
Theory and Practice, by Sigurd J. Savonius,
Eng. Capt.
Lt.N.R., published by Savonius & Co., Helsingfors,
Finland, 1925, 39
pp.
Written by the inventor of the wind machine, this booklet
describes
principles of operation, construction of various models
built by the
inventor, and some test results on those models.
A comparison is
made with the performance of the rotor and some standard
multi-blade
windmills. The
conclusions which Savonius drew from his tests seem
to contradict the experience of all others:
he claimed that his
rotor was considerably more efficient than a multiblade
windmill
of the comparable swept surface area.
Since the details of Savonius' experiments are not given, it
is
impossible to say where he has erred.
By comparing the curves on
graph #1, it can be seen that his results are more
optimistic than
11p02.gif (540x540)

those obtained by others.
2. How to Construct
a Cheap Wind Machine for Pumping Water, Do-it-Yourself
Leaflet #5,
February 1965, by A. Bodek, published by
Brace Institute.
This booklet presents a fairly single method of building an
S-rotor
from 45 (Imperial) gallon oil drums.
The construction steps are
somewhat sketchy and may not give enough detail for someone
not
familiar with construction procedures.
Alternative materials and construction methods should be
specified
for making the discs, or end plates, in conditions such as
those
prevailing in developing countries -- ordinary plywood is
not always
available or affordable; and marine quality is far better in
this
application anyway.
A design is given for transmitting a rotary motion into a
reciprocating
motion suitable for operating a piston or a diaphragm pump.
But I think that the friction losses of the proposed system
would
be considerable.
Also, the suggested diaphragm pump has several
structural limitations:
it is comparatively large in diameter and
therefore quite unsuitable for a borehole; it must be
secured at the
bottom of the borehole against the pull of the connecting
rod -- a
very impractical proposition.
The pump is not suitable for large
heads of water; the 15' (5m) head suggested in the example
has
little practical application.
Because the moving structure and the
connecting rod are quite heavy, they will absorb a
substantial portion
of the available energy.
It seems likely that the diaphragm of
of the pump will not last long.
And since the pump has to be immobilized
at the bottom of the well, changing the diaphragm could be
very difficult.
The support structure requires welding -- difficult to do in
the
average village. And
a rubber compound is needed to mate some
surfaces -- also difficult to find in a village.
As given, the curve of the wind speed plotted against water
delivered
at a 10' head will apply only in the best conditions.
There is no provision for governing or braking systems, which
are
necessary to protect the device in very strong winds.
3. Performance Tests
of Savonius Rotor, by M. H. Simmonds and
A. Bodek, Brace
Research Institute Technical Report No. 5.
The method for testing the rotor is fairly accurate and
appropriate.
The power coefficient plotted against tip speed ratio for
various
wind power machines shows correctly that the rotor has the
lowest
coefficient of performance (is the least powerful).
Various test curves included in the report are very useful
to a
designer and will help with making an intelligent decision
as to
whether the machine will work in a given wind condition.
The conclusions given in the summary, however, imply that
the rotor
is suitable for pumping water in relatively low wind speeds
-- which
I believe to be untrue.
4. An Investigation
Into the Suitability of Savonius Rotor for the
Use as a Power
Source in Underdeveloped countries, by A. N.
Bymer.
Imperial College of Science and Technology,
London S.W.7.
The report describes an exercise in building and testing a
S-rotor.
This rotor was placed horizontally, which is not a typical
position
for the rotor. Due
to various difficulties, the errors in reading
are very high. The
report gives a limited bibliography and attempts
to make an evaluation of economic merits of the rotor.
The general
conclusions are that the machine is not very powerful; but
may be
suitable for pumping limited amounts of water.
5. The S-Rotor and
its Applications, by S. J. Savonius.
Mechanical
Engineering Vol.
53, May 1931, No. 5.
The author describes his earlier work and his experimental
and
theoretical comparison of various wind machines with the
S-rotor.
He claims 30% efficiency for his S-rotor against 20% as the
highest
theoretical maximum for all vertical-shaft airwheels,
calculated by
Professor Betz. The
author himself states that "Either the author's
tests and results were altogether at fault, or in making
their
theoretical calculations Professor Betz and the German
School of
aerodynamic experts had overlooked something of
importance." From
the results of numerous tests by others, it is rather
evident that
Savonius' "tests and results were altogether at
fault."
The optimum tip speed to wind speed ratio of about 1.0 found
by
Savonius seems to be correct; this is confirmed in tests by
others.
Numerous applications are given the rotor, some of which are
questionable
and some more reasonable.
The author proposes two alternative braking systems, i.e., a
brake
drum, and "air brakes consisting of small flaps which
open out from
the wing surface when a predetermined speed is
exceeded." According
to the report, the rotor's performance in water is analogous
to that
in air, taking into account the differences in the densities
of the
two media. The author
claims that 1.6 horsepower per square meter
of surface area at a water speed of 2 meters per second was
attained.
An interesting and feasible application described is the
placement of
the rotor with its axis in a horizontal position so that it
is turned
by the wave motion.
A device of this type was installed in Monaco
around 1930 and pumped water 200 ft up.
A power output of 1.8 to
2.7 HP per square meter is claimed at a wave speed of 3
meters per
second.
6. Design,
Development and Testing of a Low Head, High Efficiency
Kinetic Energy
Machine, by Russel B. MacPherson, U. Mass. School
of Engineering,
Amherst, Massachusetts.
The paper presents wind tunnel test data on an S-rotor
model. Curves
are plotted showing relationships between efficiency, rotor
speed and
power output. A
polar torque diagram is given. The test
curves are
of some use to the designer, and indicate a rather low
capability of
the S-rotor, except in very high winds.
7. Appendix C.
The Savonius Rotor.
A Study Conducted for the
OFFICE OF
PRODUCTION RESEARCH AND DEVELOPMENT, WAR PRODUCTION
BOARD,
Washington, DC, January 31, 1946, by Engineering Research
Division, New
York University.
The article describes tests on a model in a wind
tunnel. The results
are tabulated, and power vs efficiency, power vs rpm of the
S-rotor
and efficiency vs rpm of the rotor curves are plotted.
Analysis of a
hypothetical rotor operating in a 30 mph wind and developing
1000 kw
was made. The rotor
would have to be 360 ft tall, mounted on a 50 ft
base, and would have a diameter of 60 ft.
The calculated cost of
building such a Savonius rotor was much higher than for an
axial
flow windmill producing the same power.
8. Wind and
Windspinners, by Michael A. Hackleman and David W. House,
published by
Peace Press Printing and Publishing, 3 28 Willat Ave.,
Culver City,
California 90230 USA.
Several chapters on such fundamentals as energy concepts and
generation
of electricity are included in this book, plus some
construction
information. The
explanations are clear, but over-simple.
The book
contains many contradictions and numerical errors.
Overall, the
authors overestimate the capabilities of the S-rotor.
In some instances it may be that misprints are responsible
for data
that is in error by as much as a factor of 101 (In chapter
7,
figures for generated power should be 82.85 watts instead of
828.495
watts, and 37.5 watts instead of 373.5 watts.)
In other cases, the
errors combine with unsupported optimism to confuse or
mislead the
reader. Table 1 on
page 96 contains arithmetical errors, and further,
leaves a layman under the impression that the S-rotor is
capable of
generating several kilowatts of electricity, which could
only be the
case in a hurricane -- which would blow away the whole
structure.
The table starts off with a wind velocity of 32 mph; there
are few
places in the world where steady winds are that high.
The "cube law" pertaining to wind energy is simply
explained. The
section on generators and alternators is useful for a layman
who
wants to know something about their application.
The chapter on
batteries details how to choose, charge and test
batteries. It
specifically applies to American conditions, and would be of
little
use to someone in a developing country.
Likewise, the chapter on
"Using Electricity" applies to American
conditions.
The authors provide information on what I believe to be
rather costly
and complicated control systems.
Detail construction is described for three alternative designs.
The
end plates are made of plywood (use marine quality if you
use plywood!).
The method of locating center points and marking circles
is described in detail.
Cutting oil drums in half with a gas torch,
as suggested, would be impractical in a developing country;
it can be
done easily enough with a hammer and cold-chisel.
L-brackets are
used to attach half-drums to discs instead of the lips of
the drums.
The "skeletal" assembly which is the alternative
to the basic design
seems unnecessarily complicated and expensive.
As the author suggests,
its only merit might be for experimental purposes.
Recommended bearings do not have to be both flange mounted
and eccentric-locking.
The bottom bearing should be preferably flange-mounted
and self-aligning, but the top bearing need not be.
The authors do not recommend using a water pipe for the
shaft of the
rotor. In both of my
S-rotors I have used ordinary water pipe and
have experienced no problems.
The suggested method of using flanges
and threaded nipples is unnecessarily expensive,
particularly in a
developing country.
Two basic types of supporting structure are suggested:
one is a vertical
shaft on a pivot, which enables the rotor to be brought to
the
horizontal position on the ground for maintenance, etc.; and
another
is an external structure.
I believe both to be somewhat impractical.
A simpler framework is shown, whose ends can be dug into the
ground
and which can be supported by four or six anchored guy wires
with
turnbuckles.
Spoilers are suggested to slow the rotor in very high wind
speeds.
I believe it would be very difficult to come up with an
arrangement
where both spoilers move and open up by exact amounts.
Small errors
in the design and construction of the mechanism could cause
very
serious imbalance and vibrations at higher speeds.
It would help the reader to emphasize that steady wind
speeds above
12 mph (at which only a fraction of one watt is generated
per one
square foot of the S-rotor's surface) are very rare in most
parts of
the world. And
surely a cautionary statement about the suitability
of an S-rotor for wind speeds below 10 mph should be
included at the
beginning of the book rather than on page 105.
========================================
========================================