SOLAR STILL
by W. R. BRESLIN
illustrated by GEORGE R. CLARK
Published by
VITA
1600 Wilson Boulevard, Suite
500
Arlington, Virginia 22209 USA
Tel: 703/276-1800 . Fax:
703/243-1865
Internet: pr-infor@vita.org
ISBN 0-86619-030-9
[C] 1980
Volunteers in Technical Assistance
SOLAR STILL
I.
WHAT IT IS AND HOW IT IS USEFUL
II.
DECISION FACTORS
Applications
Advantages
Considerations
Purpose
Cost
Estimate
III.
MAKING THE DECISION AND FOLLOWING THROUGH
IV.
PRECONSTRUCTION DECISIONS
Size
Site
Selection
Other
Considerations
Disadvantages
of Plastic Films
Construction
Requirements
V.
CONSTRUCTION OF THE STILL
The Tray
The Frame
The Base
Assemble the
Still
VI.
OPERATION AND MAINTENANCE
VII.
DICTIONARY OF TERMS
VIII. CONVERSION
TABLES
IX.
FURTHER INFORMATION RESOURCES
APPENDIX I. DECISION MAKING WORKSHEET
APPENDIX II. RECORD KEEPING WORKSHEET
SOLAR STILL
I. WHAT IT IS AND
HOW IT IS USEFUL
A solar still is a device that uses energy from the sun to
purify salt- or brackish water.
Solar stills (as shown in
Figure 1) can be easy to construct and maintain.
Depending upon
sc1x1.gif (486x486)

their size, they can provide water for many uses.
And in desert
areas where sunshine is plentiful and water is not, a solar
still can be very important.
A solar still is little more than a shallow, watertight box
with a clear glass or plastic top.
The bottom of the box is
usually painted black to absorb the sun's heat.
The base of the
still is filled with nonpotable water, for example, brackish
water. The sun's
heat evaporates the water, which then condenses
on the inner surface of the cover.
The condensed water
runs into troughs from which it can be collected in storage
containers. The
still's cover is tilted to collect the greatest
amount of solar energy.
Glass-covered solar stills are much
more rugged and trouble-free and are able to withstand
climatic
and environmental conditions much better than plastic.
So, over
a long period of time, the increased cost of glass will pay
for
itself.
Since the water is pure and free of harmful bacteria, there
is
no fear of water-borne diseases commonly associated with
water
supplies in many developing countries.
In some parts of the
world where the major supply of water is the sea or ocean,
solar distillation of saltwater has proved to be
economically
feasible when compared to mechanical conversion of
saltwater.
The portable still described here produces 3 liters (.8
gallons)
of water per day.
[While the basic design can be enlarged
to produce up to 758 liters (200 gallons) per day, the
resulting
still would be 185 sq m (2000 sq ft) and would be very
expensive to build.]
Once built, the only maintenance required
is to keep the outside of the glass clean and to flush out
the
interior occasionally to remove the salt buildup.
II. DECISION FACTORS
Applications:
* Purifying salt- and brackish
water
*
Clean water supply for family needs, hospital
or dispensary, etc.
Advantages:
* No fuel costs
*
Still can produce up to 3 liters (.8 gallons
of water per day
*
Easy to build and operate
*
Portable design -- ideal for
field
applications
*
Designed to catch rainwater run-off
Considerations:
* Limited output
*
Has to be filled manually
*
Operable only during daylight hours
*
Must be cleaned periodically
PURPOSE
What is the water to be used for and how much is needed?
Consider these questions carefully before beginning.
The amount
clean water processed from the still is small in comparison
to
normal water usage which in a developing country runs from
24-40 liters (6-11 gallons) per day.
This limits the still's
value to those needs it can meet.
In many areas, the primary
use for a solar still has been to provide potable water from
seawater or brackish water which is unfit to drink in its
natural state. This
still could provide enough water to meet an
individual's drinking needs.
Consider also care and maintenance of the solar still.
Someone
has to fill and clean the still in the design presented
here.
COST ESTIMATE(*)
$15 to $30 (U.S., 1979) including material and labor.
--------------
(*)Cost estimates serve only as a guide and will vary from
country to country.
III. MAKING THE
DECISION AND FOLLOWING THROUGH
When determining whether a project is worth the time,
effort,
and expense involved, consider social, cultural, and
environmental
factors as well as economic ones.
What is the purpose of
the effort? Who will benefit most? What will the
consequences
be if the effort is successful? And if it fails?
Having made an informed technology choice, it is important
to
keep good records.
It is helpful from the beginning to keep
data on needs, site selection, resource availability,
construction
progress, labor and materials costs, test findings, etc.
The information may prove an important reference if existing
plans and methods need to be altered.
It can be helpful in pin-pointing
"what went wrong?" And, of course, it is important
to
share data with other people.
The technologies presented in this series have been tested
carefully, and are actually used in many parts of the world.
However, extensive and controlled field tests have not been
conducted for many of them, even some of the most common
ones.
Even though we know that these technologies work well in
some
situations, it is important to gather specific information
on
why they perform better in one place than in another.
Well documented models of field activities provide important
information for the development worker.
It is obviously important
for a development worker in Colombia to have the technical
design for a still built and used in Senegal.
But it is even
more important to have a full narrative about the still that
provides details on materials, labor, design changes, and so
forth. This model
can provide a useful frame of reference.
A reliable bank of such field information is now
growing. It
exists to help spread the word about these and other
technologies,
lessening the dependence of the developing world on
expensive and finite energy resources.
A practical record keeping format can be found in Appendix
II.
IV. PRECONSTRUCTION
CONSIDERATIONS
SIZE
The relationship between the size of a solar still and its
capacity depends upon its design and efficiency.
The area/
capacity rate is approximately 10 to 1 if the unit is glass
covered and well insulated.
For example, a 114-liter- (30-gallon-)
per-day still will require 300 sq ft under optimum
conditions. On
cloudy or rainy days, production stops so it is
necessary to build a solar device to anticipate this
handicap.
Therefore, it is best to provide for a good storage facility
to
hold the water produced.
Because this still is quite small, it is designed so that
water
collected can be drained into bottles.
The water could also be
collected in 208-liter (55-gallon) drums that have been
cleaned
and rustproofed or in ferroconcrete water storage tanks--any
good catchment setup can be used.
SITE SELECTION
The still requires unobstructed sunshine from early morning
to
late afternoon. It
should be placed so that the length of the
still runs from east to west.
The south-facing glass should
face due south as much as possible.
The still should be kept
level.
OTHER CONSIDERATIONS
The quality of the water produced can be greatly affected by
the storage facility and the collection method just to name
two
factors. Many prefer
to boil water which sits in a catchment of
some kind before using it as drinking water.
On the other hand,
if the still is kept clean and the distillate is drained
into
clean bottles for storage [20-30 liter (5-8 gallon) bottles
are
a good size], the water will remain clean.
DISADVANTAGES OF PLASTIC FILMS
Because of the following problems, glass-covered stills
appear
to be more reliable:
* Plastic films
become brittle and deteriorate from the sun's
ultraviolet
radiation. As a result, depending upon
quality of
the plastic, they
may have to be replaced every three to six
months.
* Condensing water
usually forms droplets on the surface of the
plastic film.
These droplets reflect a portion of the
solar
energy back to the
sky and they often drip back into the
basin.
* Plastic film is
easily damaged by heavy rains, winds, and
wildlife.
* Plastic collects
dust which can only be removed by using
fresh water from
the still.
CONSTRUCTION REQUIREMENTS
Tools
* Hammer
*
Welding equipment
* Screwdriver
*
Paint brushes
* Wood saw
*
Wood chisel or router
* Metal saw
*
Drill with bits
* Pliers
*
"C" clamps
* Ruler
Materials
1 Galvanized steel sheet, 58cm X 128cm X 0.3mm thick (water
tray)
1 Hardboard sheet, 60cm X 124cm X 3mm thick (insulation
backing)
2 Glass panes, 27.5cm X 122cm X 6mm thick (transparent
cover)
4 Lumber,(*) finished, 5cm X 5cm X 25cm, (legs)
4 Lumber,(*) finished, 2cm X 8cm X 128cm (base frame, long)
5 Lumber,(*) finished, 2cm X 8cm X 60cm (base frame, short)
2 Lumber,(*) finished, 5cm X 10cm X 120cm (side members)
3 Lumber,(*) finished, 4cm X 5cm X 50cm (tray ribs)
2 Lumber,(*) finished, 17.5cm X 60cm X 2cm thick, cut
angular as
shown or equivalent
(end pieces)
1 Lumber,(*) finished, 4cm X 4cm X 124cm (glass support)
1 Copper tubing/galvanized steel pipe, 3/8" X 11cm
long,
(drainpipe)
2 Copper tubing/galvanized steel pipe, 3/8" X 6cm long
(distillate and
rainwater pipes)
1 Plastic tubing, length variable depending on collection
bottles, etc.--to
fit snugly over copper tubing
* Nonhardening
caulking, similar to that used for steel windows
______________
(*)Preferably a white wood or equivalent (tulip, a
cottonwood).
* Wood shavings, to
fill volume 0.3 cubic meters (insulation)
* Primer for
galvanized steel surfaces, preferably one coat
wash primer and
then one coat zinc chromate
* Aluminum paint
* Wood primer
* Flat black plastic
paint
* White plastic
paint
* Nails
* Screws
* Clamps
V. CONSTRUCTION OF THE STILL
THE TRAY
1. On one end of the galvanized steel sheet, drill a 3cm
diameter
hole for the
drainpipe as shown in Figure 2.
sc2x11.gif (486x486)
2. Using tin snips or a metal saw, cut the galvanized steel
sheet 4cm from the
end on each long side, cutting 4cm deep
(as indicated in
Figure 2).
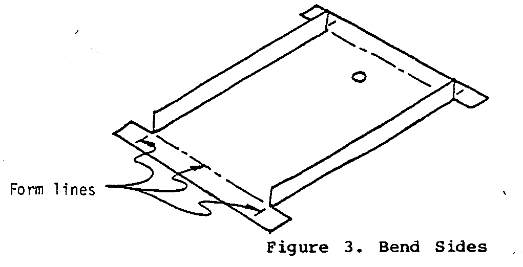
3. Bend the long sides as
shown in Figure 3.
sc3x11.gif (437x437)
4. Bend the ends into corners. Solder all four corners at
the
top and bottom,
inside and out, as indicated in Figure 4.
sc4x12.gif (486x486)
5. Using clean water, test for leaks. If any leaks appear,
resolder that
corner, inside and out.
6. Using a metal saw, cut the copper
drainpipe as shown
in
Figure 5. The
drainpipe should
sc5x12.gif (393x393)

extend at least
5cm below the
bottom of the
framework to
permit easy
installation of the
plastic tubing.
7. Bend the sections very
carefully as shown
in
Figure 6 and
flatten
sc6x12.gif (437x437)

with a hammer.
8. Turn the tray upside down and line up the hole in the
drainpipe
with the hole in
the bottom of the tray as shown in
Figure 7. Solder
all four tabs securely. Check for leaks.
sc7x13.gif (267x534)
9. Paint the tray with a suitable primer and then with a good
flat black plastic
paint. The paint should be able to withstand
continuous
immersion and temperatures of 65-70[degrees]C
150-160[degrees]F)
and should not fade or discolor under the influence
of the sun's rays.
THE FRAME
1. Grooves can be cut into the side members or built up for
the
distillate and
rainwater troughs and the glass rest. Two
options are shown
below in Figure 8.
sc8x13.gif (540x540)
If Option 1 is used, holes should be drilled for the
drainpipes,
after assembly, and edges sealed with caulking. The side
members should be primed and painted with good white plastic
paint. Be sure that the upper face containing the grooves is
thoroughly painted to prevent leakage.
2. Cut and prepare the end sections, cutting a door in one
piece, as shown in
Figure 9. Painting probably should be
sc9x14.gif (600x600)

done after
assembly of still section as shown on the following
page.
3. As shown in Figure 10, nail the end sections to the side
sc10x15.gif (540x540)

members. Nail the
tray ribs in place using nails at least
10cm long.
4. Nail the hardboard or plywood insulation retaining sheet
in
place beneath the
tray ribs (see Figure 10). (If hardboard
is used, it should
be soaked in water for at least 24 hours,
removed from water
and allowed to dry thoroughly; then
nailed in place.)
Nail edges closely to prevent bulging at
the seams.
5. Place the tray in the still to get the drainpipe
location.
Remove the tray
from the still and drill a hole for the
drainpipe in the
retaining sheet. Be sure it is in the end
where the door is
located.
6. Paint the outside bottom face of the hardboard or plywood
with aluminum
paint.
7. Drill two holes for the distillate and the rainwater
drainpipes
in the door end
only. See Options 1 and 2 in Figure 11
sc11x16.gif (600x600)

below.
THE BASE
Make a sturdy base for the still, using available materials.
The dimensions in Figure 12 should be used as a guide.
sc12x17.gif (540x540)
ASSEMBLE THE STILL
1. Place the insulation in the
still under the
ribs,
between the ribs,
and level
with the top of
the ribs
(see Figure 13).
Do not
sc13x17.gif (540x540)

pack too firmly
but pack
evenly and fully.
2. Install the tray in its
place making
certain the
drainpipe is
properly
positioned.
3. Nail the tray into the framework at about 4cm intervals,
at
the top edge only.
Do not nail the tray into the rib supports
but only into the
side members as shown in Figure 14.
sc14x18.gif (540x540)
4. Install the glass support into the framework as shown in
Figure 14.
5. Clean the glass panes extremely well and put them in
place.
Care must be taken
to avoid fingerprints, putty, or paint
marks on the
glass. Caulk the glass well with non-hardening
putty (silicone
rubber or similar caulking is good).
6. Secure the glass panes with several metal or wooden
clamps
(see Options 1 and
2 in Figure 15). They should prevent a
sc15x19.gif (600x600)

strong wind from
lifting and possibly breaking the glass.
7. Install the plastic tubing to the trough pipes and be
sure
to allow
sufficient tubing to enter several centimeters into
the collection
bottles.
VI. OPERATION AND MAINTENANCE
For proper operation and maintenance of your solar still,
follow the guidelines listed below:
* For the first use, fill the still with water to a depth of
approximately 2cm
(1"). From then on, early each morning, at
about 7 or 8
o'clock, drain the water remaining from the previous
day. Add fresh
water, again to a depth of about 2cm.
Be careful not to
touch the underside of the glass.
* Do not use the distillate produced by the still for the
first
few days; this
avoid contamination.
* Always wash out collecting bottles in fresh water and then
in
distilled water.
The collecting bottles must be large enough
to hold 1-3 liters
(1 gallon). Use only thin-necked collection
bottles with tops
loosely stoppered around the tubing
to prevent
contamination of the distilled water.
* Keep the distillation unit and surrounding area clean at
all
times to maintain
quality distilled water.
* Keep the distillation water in a 20-30 liter (5-8 gallon)
container so that
there will always be extra water available.
The areas around
storage bottles must also be kept
clean.
* Clean the glass every
few days with
distilled
water and
squeegee (see
Figure 16)
sc16x21.gif (393x393)

or clean cloth.
* Clean the outside glass before rainstorms during the rainy
season; the clean
rainwater can be collected and added to the
reserve stocks.
VII. DICTIONARY OF TERMS
BACTERIA--Any of numerous one-celled micro-organisms of the
class
Schizomycetes, having a wide range of biochemical,
often pathogenic
(toxic), properties.
BRACKISH WATER--Water containing some brine or salt.
BRITTLE--Likely to break, fragile.
BULGING--Swollen; grown larger or rounder.
CATCHMENT--A structure or vessel, such as a basin,
reservoir,
or barrel, for collecting water.
CAULK--To make watertight or airtight by filling in cracks.
CAULKING COMPOUND--Substance used to fill in cracks to keep
something
watertight or airtight.
CONDENSE--To reduce a gas or vapor to a liquid or solid.
CONTAMINATION--To make impure or unsuitable by contact or
mixture with
something unclean.
DETERIORATE--To lower in quality, character, or value. To
disintegrate or
wear away.
DISTILLATE--The liquid condensed from vapor in distillation.
EVAPORATE--To convert from liquid to vapor.
FERROCONCRETE--Concrete containing steel bars or metal
netting
to increase its
tensile strength.
HANDICAP--Disadvantage or disability.
IMMERSE--TO cover completely in a liquid.
NONPOTABLE WATER--Contaminated water not fit for human
consumption.
POLYETHYLENE--A plastic compound of ethylene used for
packaging
and insulation
of containers, etc.
PORTABLE--Mobile, easily moved.
POTABLE WATER--Uncontaminated water fit for human consumption.
PUTTY--A doughlike cement made by mixing whiting and linseed
oil, used to
seal joints in pipes, fill holes in woodwork,
and secure panes
of glass.
ROUTER--A tool or machine used to cut furrows or hollows in
wood.
TROUGH--A long, narrow, generally shallow receptacle,
especially
one for
holding water.
VIII. CONVERSION TABLES
UNITS OF LENGTH
1 Mile
= 1760 Yards =
5280 Feet
1 Kilometer
= 1000 Meters =
0.6214 Mile
1 Mile
= 1.607 Kilometers
1 Foot
= 0.3048 Meter
1 Meter
= 3.2808 Feet =
39.37 Inches
1 Inch
= 2.54 Centimeters
1 Centimeter
= 0.3937 Inches
UNITS OF AREA
1 Square Mile
= 640 Acres
= 2.5899 Square Kilometers
1 Square
Kilometer = 1,000,000 Square
Meters = 0.3861 Square Mile
1 Acre
= 43,560 Square Feet
1 Square Foot
= 144 Square Inches =
0.0929 Square Meter
1 Square Inch
= 6.452 Square Centimeters
1 Square Meter
= 10.764 Square Feet
1 Square Centimeter
= 0.155 Square Inch
UNITS OF VOLUME
1.0 Cubic Foot
= 1728 Cubic Inches =
7.48 US Gallons
1.0 British Imperial
Gallon
= 1.2 US Gallons
1.0 Cubic Meter
= 35.314 Cubic Feet =
264.2 US Gallons
1.0 Liter
= 1000 Cubic Centimeters =
0.2642 US Gallons
1.0 Metric Ton
= 1000 Kilograms =
2204.6 Pounds
1.0 Kilogram
= 1000 Grams
= 2.2046 Pounds
1.0 Short Ton
= 2000 Pounds
UNITS OF PRESSURE
1.0 Pound per square inch
= 144 Pound per square foot
1.0 Pound per square inch
= 27.7 Inches of water(*)
1.0 Pound per square inch
= 2.31 Feet of water(*)
1.0 Pound per square inch
= 2.042 Inches of mercury(*)
1.0 Atmosphere
= 14.7 Pounds per square inch (PSI)
1.0 Atmosphere
= 33.95 Feet of water(*)
1.0 Foot of water = 0.433 PSI
= 62.355 Pounds per square foot
1.0 Kilogram per square centimeter
= 14.223 Pounds per square inch
1.0 Pound per square inch
= 0.0703 Kilogram per square
centimeter
UNITS OF POWER
1.0 Horsepower (English)
= 746 Watt
= 0.746 Kilowatt (KW)
1.0 Horsepower (English)
= 550 Foot pounds per second
1.0 Horsepower (English)
= 33,000 Foot pounds per minute
1.0 Kilowatt (KW) =
1000 Watt = 1.34 Horsepoer (HP)
English
1.0 Horsepower (English)
= 1.0139 Metric horsepower
(cheval-vapeur)
=
1.0 Metric horsepower
= 75
Meter X Kilogram/Second
1.0 Metric horsepower
= 0.736 Kilowatt
= 736 Watt
-----------------
(*)At 62 degrees Fahrenheit (16.6 degrees Celsius).
IX. FURTHER INFORMATION RESOURCES
Brace Research. "How to Make a Solar Still (Plastic
covered),"
Faites Vous-meme
#1 (Do It Yourself #1), January 1965.
Brace Research,
McDonald College of McGill University,
Ste. Anne de
Bellevue, Quebec, Canada. Probably the most
useful booklet
of these three. Contains plans for a large,
fairly low-cost
solar still, especially designed for
developing
areas. Plans include materials list, clear
schematic
drawings, and easily followed instructions.
Design given has
been used extensively in Barbados.
Edson, Lee and Weldy, James. "Glass-covered Solar
Still,"
revised July
1967. Plans for a solar still very similar to
the one below,
only larger (6 X 8 ft), putting out 5 gallons
water/day under
optimum conditions. Includes list of
materials, schematic
drawings, and instructions. Available
from the
University of California, 1301 S 46th Street,
Richmond,
California USA.
Edson, Lee and Weldy, James. "How to Build a Solar
Still,"
revised by B.W.
Tliemat, June 1966, 13 pp. Plans for
building a small "roof-type"
still of glass and wood, big
enough to supply
drinking water for one person under optimum
conditions.
Includes list of materials, schematic
drawings, and
instructions. May be a bit too technical for
some. Available
from Sea Water Conversion Lab, Richmond
Field Station,
University of California, 1301 S 46th
Street,
Richmond, California USA.
SOLAR DISTILLATION
Department of Agriculture. Survival in the Desert (Solar
Still).
Available from VITA.
Dunham, Daniel C. Fresh Water from the Sun -- Family Sized
Solar Still
Technology: A Review and Analysis. 1978, 176
pp. Office of
Health, United States Agency for International
Development,
United States Department of State,
Washington, DC
20523 USA.
Gomkale, S.D. and Datta, R.L. "Some Aspects of Solar
Distillation
for Water
Purification," Solar Energy, Vol. 14, 1973,
pp. 387-392.
Papoulias, Nicholas G. Solar Stills. June 1975. Church World
Service, Athens,
Greece. Available from VITA.
Porteous, Andrew. "The Design of a Prefabricated Solar
Still
for the Island
of Aldabra," Desalination. January 1969.
Elsevier
Publishing Company, Amsterdam, The Netherlands.
Read, W.R. "A Solar Still for Water Desalination
(Design,
Construction,
and Installation)," Report E.D. 9. September
1963. CSIRO, PO
Box 26, Highett, Victoria, Australia 3190.
VITA. "Solar Desalination." List of enclosures for
VITA case
#28179.
APPENDIX I
DECISION MAKING WORKSHEET
If you are using this as a guideline for using a solar still
in
a development effort, collect as much information as
possible
and if you need assistance with the project, write VITA. A
report on your experiences and the uses of this manual will
help VITA both improve the book and aid other similar
efforts.
Publications Service
VOLUNTEERS IN TECHNICAL ASSISTANCE
1815
North Lynn Street, Suite 200
Box 12438
Arlington, Virginia 22209-8438 USA
CURRENT USE AND AVAILABILITY
* Note current domestic and agricultural practices which
might
have potential for
solar application.
* Document days of sunshine, seasonal changes, haze, cloud
cover. Check to see
if such information has already been
collected for the
local area. Another way of finding the
information is to
search out annual rainfall figures and work
from there.
* Have solar technologies been introduced previously? If so,
with what results?
* Have solar technologies been introduced in nearby areas?
If
so, with what
results?
* Are there other current practices which might be enhanced
by
improved use of
solar energy--for example, salt production?
IDENTIFY APPROPRIATENESS OF THIS TECHNOLOGY
* Is there a choice to be made between a solar technology
and
another alternative
energy technology? Or, is it important to
do both on a
demonstration basis?
* Under what conditions would it be useful to introduce a
solar
technology for
demonstration purposes?
* If solar units are feasible for local manufacture, would
they
be used? Assuming
no "funding," could local people afford
them? Are there
ways to make the solar technologies "pay for
themselves?"
* Could this technology provide a basis for a small business
enterprise?
NEEDS AND RESOURCES
* What are the characteristics of the problem? How is the
problem
identified? Who
sees it as a problem?
* Has any local person, particularly someone in a position
of
authority,
expressed the need or showed interest in solar
technology? If so,
can someone be found to help the technology
introduction
process? Are there local officials who
could be involved
and tapped as resources?
* How will you get the community involved with the decision
of
which technology is
appropriate for them.
* Based on descriptions of current practices and upon this
manual's
information, identify needs which solar technologies
appear able to meet.
* Are materials and tools available locally for construction
of
technologies?
* Are there other projects already underway to which a solar
component might be
added so that the ongoing project acts as
a technical and
even financial resource for the new effort?
For example, if
there is a post-harvest grain loss project
underway, could
improved solar drying techniques be introduced
in conjunction with
the other effort?
* What kinds of skills are available locally to assist with
construction and
maintenance? How much skill is necessary for
construction and
maintenance? Do you need to train people?
Can you meet the
following needs?
* Some aspects of
this project require someone with experience
in metal-working
and/or welding. Estimated labor time
for full-time
workers is:
*
8 hours skilled labor
*
8 hours unskilled labor
* Do a cost estimate of the labor, parts, and materials
needed.
* How will the project be funded? Will outside funding be
required? Are local
funding sources available to sponsor the
effort?
* How much time do you have for the project? Are you aware
of
holidays and
planting or harvesting seasons which may affect
timing?
* How will you arrange to spread knowledge and use of the
technology?
FINAL DECISION
* How was the final decision reached, either to go ahead or
not
to go ahead, with
this technology?
APPENDIX II
RECORD KEEPING WORKSHEET
CONSTRUCTION
Photographs of the construction process, as well as the
finished
result, are helpful. They add interest and detail that
might be overlooked in the narrative.
A report on the construction process should include very
specific
information. This kind of detail can often be monitored
most easily in charts (such as the one below). <see
report 1>
Some other things to record include:
* Specification of materials used in construction.
* Adaptations or changes made in design to fit local
conditions.
* Equipment costs.
* Time spent in construction--include volunteer time as well
as
paid labor, full-
and/or part-time.
* Problems--labor shortage, work stoppage, training
difficulties,
materials shortage,
terrain, transport.
OPERATION
Keep log of operations for at least the first six weeks,
then
periodically for several days every few months. This log
will
vary with the technology, but should include full
requirements,
outputs, duration of operation, training of operators, etc.
Include special problems that may come up--a damper that
won't
close, gear that won't catch, procedures that don't seem to
make sense to workers, etc.
MAINTENANCE
Maintenance records enable keeping track of where breakdowns
occur most frequently and may suggest areas for improvement
or
strengthening weakness in the design. Furthermore, these
records will give a good idea of how well the project is
working out by accurately recording how much of the time it
is
working and how often it breaks down. Routine maintenance
records should be kept for a minimum of six months to one
year
after the project goes into operation. <see report 2>
SPECIAL COSTS
This category includes damage caused by weather, natural
disasters, vandalism, etc. Pattern the records after the
routine maintenance records. Describe for each separate
incident:
* Cause and extent of damage.
* Labor costs of repair (like maintenance account).
* Material costs of repair (like maintenance account).
* Measures taken to prevent recurrence.
NOTES
NOTES
NOTES
NOTES
MANUALS IN THE ENERGY SERIES
This book is one of a series of manuals on renewable energy
technologies. It is primarily intended for use by people in
international development projects. However, the
construction
techniques and ideas presented here are useful to anyone
seeking to become more energy self-sufficient. The titles in
the series are:
Helical Sail Windmill
Hydraulic Ram
Making Charcoal: The Retort Method
Overshot Water-Wheel: Design
and Construction
Manual
Small Michell (Banki) Turbine:
A Construction Manual
Solar Still
Solar Water Heater
Three Cubic Meter Bio-Gas Plant:
A Construction Manual
For a free catalogue of these and other VITA publications,
write to:
VITA
Publications Service
P. O. Box
12028
Arlington,
Virginia 22209 USA
ABOUT VITA
Volunteers in Technical Assistance (VITA) is a private,
nonprofit,
international development organization.
VITA makes
available to individuals and groups in developing countries
a
variety of information and technical resources aimed at
fostering
self sufficiency--needs assessment and program development
support; by-mail and on-site consulting services;
information systems training; and management of long-term
field projects. VITA
promotes the application of simple,
inexpensive technologies to solve problems and create
opportunities
in developing countries.
VITA places special emphasis on the areas of agriculture and
food processing, renewable energy applications, water supply
and sanitation, housing and construction, and small business
development. VITA's
activities are facilitated by the active
involvement of VITA Volunteer technical experts from around
the world and by its documentation center containing
specialized
technical material of interest to people in developing
countries.
========================================
========================================