51033-BK

CD3WD Project

Back to Home Page of CD3WD Project or Back to list of CD3WD Publications


Home - English - French - German - Italian - Portuguese - Spanish
 
                                                      51033-BK
 
VITA                      BULLETIN TECHNIQUE
 
 
LE                             MAISON FARINE MOULIN
                 
                                  par
 
                           WALTER B. BOOHER
 
Ce mill,  du grain à l'exception du buhrs (lesquels sont de pierre), arbre, verrous,
les vis, et colle, est construit de bois. Le contre-plaqué est spécifié, mais comités ordinaires
être used.  En 1976, à Miami, Floride, prix, la matière pour le moulin,
coûtez des USA $6-8.
 
Le moulin peut être propulsé avec un 1/4 Pouvoir du Cheval moteur électrique, pouvoir du vent,
ou par hand.  Bien que la machine montrée ici soit prévue pour famille seule
utilisez, le dessinateur sent la machine pourrait être agrandie en augmentant facilement
toutes les dimensions. Faire un moulin qui a un 9 " buhr du métal du diamètre (plutôt que
le 4 1/2 " diamètre un montré ici) le corps du moulin peut doubler dans dimension;
que cependant, le besoin de l'arbre de commande soit agrandi de 3/4 " à 1 " seulement.
 
Le dessinateur de ce moulin du grain, Walter B. Booher, a été Volontaire VITA
pour 11 years.  Pour quelque temps Booher qui a été dessinateur de l'outil de l'atelier de construction mécanique
et professeur de lycée, a possédé et a opéré un petit factory.  Now
retraité, Bocher reste un participant technique actif dans les programmes VITA.
 
S'il vous plaît demandez des résultats difficiles, commentaires, suggestions et demandes plus loin
l'information à:
 
                     VITA
        1600 Wilson Boulevard, Suite 500,
          Arlington, Virginia 22209 USA
      TEL: 703/276-1800 * télécopie: 703/243-1865
           Internet: pr - info@vita.org
 
                                                     ISBN 0-86619-112-7
 
       VOLUNTEERS DANS ASSISTANCE TECHNIQUE
 
 
Quelques-uns Note Avant de Commencer
 
Les buhrs montrés sont deux pierres plates.   However, la machine a été construite et
utilisé avec buhrs fait d'argile tirée et alors a décapé pour les rendre rugueux.
Les résultats de l'initiale étaient bons.
 
Les buhrs de la pierre doivent être aiguisés au sujet de par année une fois.
 
Avant de commencer, s'il vous plaît lisez le plan entier carefully.  Pay attention particulière
à l'arrangement de parties comme montré dans les dessins de l'assemblée.
 
Chaque partie sera discutée dans quelque détail.   Les nombres en dessous correspondez
directement aux parties qui sont discutées; en d'autres termes le nombre 1 est une discussion
de partie 1.
 
LA BONNE CHANCE!
 
                  LE CORPS DU MOULIN
 
Les parties (1) (2) (3) (4):

hfm0010.gif (600x600)


 
Utilisez 1/2 " épaisseur bon contre-plaqué de la qualité pour les parties (1) et (2) et 3/4 " épaisseur

hfm0020.gif (600x600)


contre-plaqué pour les parties (3) et (4).   Toutes les parties doivent être exactement rendez carré et dimensions

hfm001.gif (600x600)


accurate.  Use colle de l'époxy dans les quatre principaux joints.  L'usage de 2 " qui finit longtemps
les clous éviteront la nécessité pour utiliser des pinces.   Est sûr le corps du moulin est
parfaitement rendez carré avant de le mettre de côté pour la colle pour durcir nuit.
 
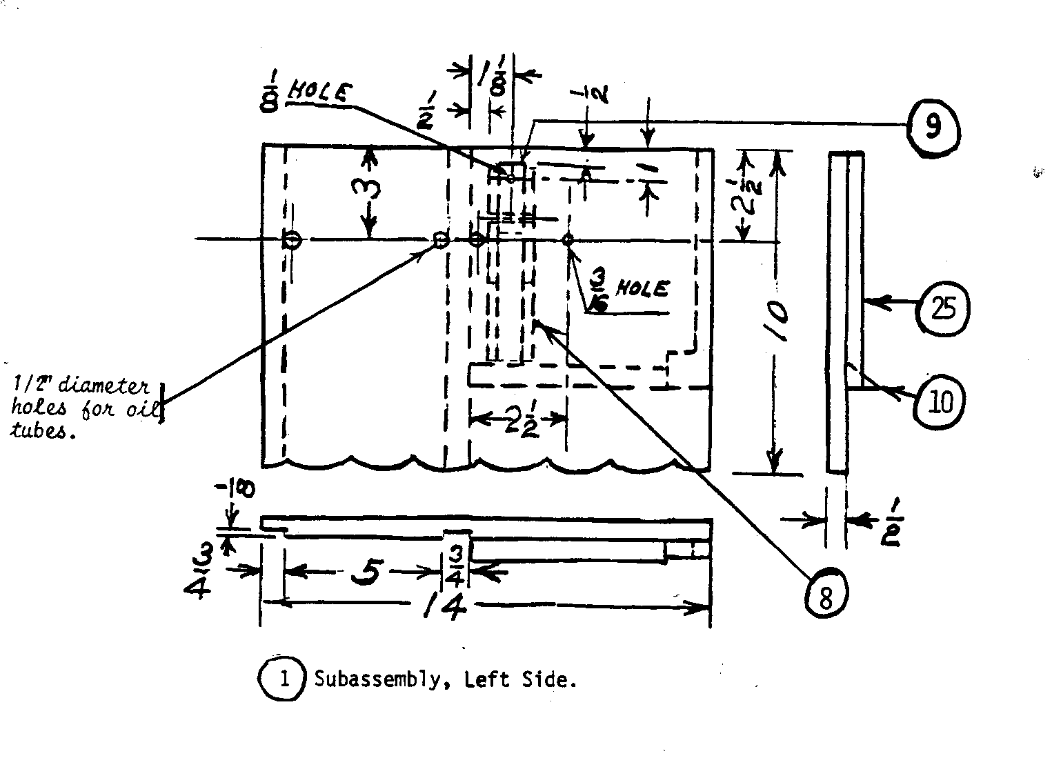
(1) sous-ensemble, Côté Gauche.
 
(2) sous-ensemble, Côté du Droit.

hfm002.gif (600x600)


   Pour les autres dimensions voient (1).
 
(3) Section de la fin.

hfm03.gif (600x600)


 
(4) centre Bulkhead.  Overall

hfm04.gif (540x540)


Les dimensions    même comme détail (3),
 note autres variations.
 
(5) promenade Shaft.  Use 3/4 dia. le rhume a enroulé acier pour ce part.  Use un 1/4 ou

hfm005.gif (600x600)


  meule de l'épaisseur de 3/8 pouces ou un 3/8 dia. dossier rond couper la spirale
rayez sur une fin. Coupez la rainure en spirale approximativement 5/32 d'un pouce deep.  Follow
tirer aussi attentivement que possible; cependant, quelque inégalité dans la vis ne veut pas
prévenez-le de faire le travail.
 
(6) Sauteur du grain. Utilisez le contre-plaqué partout.

hfm006.gif (600x600)


 
(7) Dribbler Dépression Hauteur Ajustement Ordre de les avocats. Utilisez 3/4 " pin de l'épaisseur.

hfm007.gif (437x600)


Le    Poêle verrou est 3/16 " par 2 " .  La noix ailée est tournée contre difficilement le
tête du verrou avec époxy contre la tête et dans le threads.  Ce
fait une unité solide du verrou et noix ailée.
 
(8) bascule cradle.  Cette partie y compris le

hfm08.gif (540x600)


    bascule barre, ajustement de la hauteur de la dépression du dribbler,
la barre et le faisant tourner détenteur du buhr sont
tout le digramatically montré dans le croquis en dessous.
L'avis qui l'action excentrique du buhr
le détenteur fournit l'action tremblante qui
les causes le grain travailler à la fin lentement
de la dépression du dribbler dans où il tombe
l'entonnoir a façonné la partie #19 cela le dirige

hfm019.gif (540x540)


dans le buhrs.
 
(9) Ordre de les avocats de la bascule.

hfm09.gif (540x540)


 
(10) bouclier le déviez le repas.   Ce

hfm009.gif (353x393)


    partent des aides pour dévier le repas
dans l'orage s drawer.  Deux sont
exigé.
 
(S) Ce petit printemps tient le

hfm010.gif (600x600)


La    dribbler dépression contre le
La bascule Bar.  qu'Il est attaché à un
terminez au dribbler comme montré et le
l'autre fin est attachée à l'intérieur
mur du mill.  que La fin a attaché
au mur du moulin devrait être au sujet de
1/2 " inférieur que la fin a attaché à
le dribbler.
 
(11) la base du sauteur du grain est attachée latéral du corps du moulin par à gauche

hfm011.gif (600x600)


    l'usage de deux cible hinges.  que Les charnières devraient avoir au sujet d'une 1 " longue épingle
et 1 " long leaf.  Le but de cette manière d'attacher le sauteur du grain
est le rendre possible d'ajuster la liquidation entre le sauteur du grain
tuyau de décharge et la dépression du dribbler. Voyez part 11 et 17.

hfm0110.gif (600x600)


 
(12) la base du moteur est aussi attachée au

hfm012.gif (353x353)


    a laissé côté de corps du moulin par deux charnières
ou même dimension.
 
(13) Ajustement Buhr Bar.  Hardswood

hfm013.gif (486x486)


    est préféré pour ceci
la partie.
 
(14) Détenteur Buhr tournant.

hfm014.gif (600x600)


Utilisez deux morceaux chaque 3/4 " épaisseur
contre-plaqué par 5 " x 5 ".   Avant de couper
les morceaux coupe ronde les 5/16 " par 5/16 "
emboîtez en un des morceaux comme montré.
Attachez les deux morceaux qui utilisent ensemble
approximativement quatre vis et glue.  Le 3/4 diamètre
le trou devrait être localisé ensuite.   Ce
le trou devrait passer à travers le centre exactement
des 5/16 x 5/16 " fente.   Avant de percer
cependant, cet usage du trou un compas à
tracez le 4 1/2 " cercle du diamètre.   Then
déplacez le centre du compas 3/16 " comme
montré et trace un cercle de 4 7/8 " diamètre.
Maintenant ennuyez le 3/4 " trou du diamètre.
Vu dehors le cercle sur la ligne externe.
Complétez la partie en utilisant un dossier rond
rendre le trou approximativement 1/8 " plus grand dans
diamètre à les deux fins mais l'a laissé rester
3/4 " diamètre à son centre.   Le
action excentrique de ce détenteur du buhr
fournit l'action qui secoue le
la dépression du dribbler.
 
(15) Détenteur Buhr stationnaire.

hfm0150.gif (486x486)


Utilisez un morceau de 1 " contre-plaqué de l'épaisseur et un
morceau de 1/2 " épaisseur.   First, a vu dehors le
deux 4 1/2 " morceaux du diamètre.   Then a mis dehors sur
le 1 " morceau de l'épaisseur, la 1 " section large,
cela sera découpé pour recevoir la partie #19.
Coupez dehors pour ce morceau avec le grain du
le bois. Voyez l'assemblée drawing.  calibre 3/4 " Prochain

hfm003.gif (600x600)


trou du diamètre dans 1/2 " morceau de l'épaisseur et
attachez la petite tôle d'acier.   (Voyez le détail
#28.) Notez aussi le croquis en dessous montrer
les deux 1/4 " goujons d'assemblage, un dans l'un et l'autre latéral de
ce buhr.
le détenteur.
Montré aussi
est deux
les parties pas
montré dans
drawings.  Ceux-ci
deux goujons et le
blocs dans qu'ils glissent l'influence le
buhr stationnaire en place et le prévient de
tourner. En défaisant la vis de l'ajustement du buhr
(partie #21) et enlever la partie #13, l'entier

hfm021.gif (230x600)



hfm013.gif (437x486)


le buhr stationnaire est enlevé.
 
(16) le buhrs.  Make de pierre ils de pierre convenable qui peut être trouvée le long de

hfm0160.gif (600x600)


Le lac     étaie, rives et dans Grès fields.  ouvert et schiste est aussi
doux; un peu de granite est trop dur de travailler.   Comme une épreuve, vous devriez être capable à
forez un trou avec un morceau du masonery aisément.   Beaucoup de genres de pierre, inclure,
la plupart du calcaire, est convenable pour buhrs.   Il paiera pour dépenser considérable
temps qui chasse pour juste les bonnes deux pierres qui n'exigeront pas trop
travaillez dur à complete.  Les pierres devraient être des betewen 3/4 " et 1 1/8 " épaisseur,
ayez un côté plat et soyez grand assez pour tracer un 4 1/2 " cercle du diamètre
sur them.  vous ne trouverez pas bien sûr, parfaitement à plat de pierres avec probablement
les côtés, et il aidera pour travailler un appartement latéral en le frottant bien dur partout
promenades du ciment durcies ou blocs.   qu'un peu de sable dur a répandu sur la volonté du bloc
faites l'easier.  coupant C'est plus sûr pour ne pas utiliser un marteau et ciseau à froid
sur la pierre jusqu'à ce qu'il soit monté sur son détenteur du buhr fermement.
 
Quand monter les pierres sur les détenteurs du buhr, soyez sûr d'avoir le
surface plate de chaque buhr dans un avion parallèle avec la surface plate
de son buhr holder.  Si l'existence de la surface était montée contre le
le détenteur du buhr est irrégulier, creusez dehors quelques régions de l'installation
bloquez pour conformer avec les régions irrégulières de la pierre.   Use époxy
cimenter les pierres à leurs blocs de l'installation.   Use époxy librement.
Après qu'il ait mis nuit, remplissez dans toutes ouvertures visibles autour des bords du
la pierre et monter block.  Il est bien avoir la perforation d'enchaînement foré dans chacun
mais tout le travail du ciseau devrait être fait après être monté.   Dans pierre active à la main
un peu de variations sont inévitables mais si vous tenez une approximation proche au
plan en montré #16 en détail votre pierre devrait broyer de la haute farine du niveau.
 
(17) grain que Dribbler devrait être juste

hfm11.gif (437x437)


    assez long laisser couler le grain
dans partie 19. Dans s'assembler le

hfm019.gif (486x486)


le moulin réduit la 10 " dimension à
le costume.
 
(18) excentriques - Faites-en 2.  Ces deux parties

hfm018.gif (256x437)


    devrait être identical.  Use époxy sous et
autour de la tête du 3/16 " verrou (à l'intérieur de moulin
le corps) sur que ces excentriques tournent.   celui
services excentriques comme un tendeur de la ceinture et le
les autres augmentations ou baisse le sauteur du grain.   Use
blessé fou pour commodité.
 
(19) utilisez la jauge légère a étamé la tôle pour faire ceci

hfm019.gif (486x486)


    partent.   Le croquis de secours montré ici volonté
aidez you.  Use à étamer des cisailles pour en faire 1/4 "
coupes dans chacun des quatre coins de
le tube.  Solder carré le joint
de ce tube alors soudez le joint
de l'entonnoir rectangulaire façonné
section.  Then, avec deux du
les bords supérieurs du tube ont courbé à
conformez avec l'en entonnoir
coupez, placez les deux parties
ensemble et soudure.
 
(20) la roue de la balance est faite de ciment (béton).   Use un portland de la partie

hfm0200.gif (353x540)


    cimentent à deux part sand.  Vous pouvez faire la forme pour lui en sciant dehors un
entourez de 3/4 " contre-plaqué de l'épaisseur.   que Le diamètre du cercle devrait être
9 " et le trou dans centre 3/4 " diamètre.   Ont une seconde 3/4 " épaisseur
bloquez donc le trou aura une profondeur de 1 1/2 ".   Quand le 3/4 " diamètre
l'arbre est placé dans la forme, ce trou doit tenir l'arbre exactement vertical
avec le 9 " cercle du diamètre (voyez le croquis).   Saw dehors les deux 5 " cercles du diamètre
et a percé pour bolts.  (Si vous projetez de tourner le moulin avec une manivelle, faites
c'entoure 7 " diamètre.   Ces verrous sont 3 1/2 " longtemps.
Ou fait c'en verrouille 5 " long si vous projetez d'attacher un
les windwheel à cette balance tournent.)   La forme pour le
la roue est faite de tôle d'acier de la jauge légère.   (Carton
peut aussi être utilisé. )  Make 3 " large par 30 " longtemps.
Courbez autour du 9 " disque et petit clou ou clou.
 
Assemblez-vous et versez le béton.   Let le béton durcit
pour approximativement quatre days.  Le croquis montre l'ensemble de la forme
en haut prêt pour le concrete.  UNE section de la forme est
la coupe montrée loin pour clarté du dessin.   La forme
y compris l'arbre devrait bien être enduit avec lourd
graissez donc le ciment ne collera pas pour former.   Use un
tout droit affilez pour frapper fermé le ciment après avoir versé.
Évitez bolts.  Note inquiétant 5/16 " x 5/16 " fente
à travers le disque supérieur prendre la 1/4 " épingle à travers arbre
quand assembled.  Wait jusqu'à ce que le béton en ait durci quatre
jours avant de mettre le disque supérieur en place.
 
(21) Ajustement Buhr Usage Screw.  conjointement avec une noix carrée et une noix ailée.

hfm021.gif (167x600)


 
(22) faites 2 morceaux 3/4 x 1 1/2 x 1 1/2 " comme montré dans schéma d'assemblage (page 1).

hfm003.gif (600x600)


    Use 3/4 " pin de l'épaisseur lumber.  Make le pied 1 1/2 " haut et 15 1/2 " longtemps.
Ennuyez-en 1/4 " pour convenir des trous assortis dans les détails #1 et #2.
 
(23) utilisez deux machines à laver de l'acier avec une machine à laver du cuivre entre.
 
(24) Bearing.  de bronze Ce peut être un palier glisseur de bronze standard acquis à
    un magasin de la provision de la portée, ou ce peut être une courte longueur d'eau du cuivre simplement
pipe.  Si la pipe de la jauge légère est utilisée, ce sera recommandé d'utiliser une scie à métaux
couper le morceau en longueur et enlever approximativement 1/8 ".   Then le compriment pour aller parfaitement
l'arbre plus de snugly.  Avant d'installer, rendez rugueux la surface externe pour tenir
l'époxy better.  de que Les portées devraient être mises après le corps en place seulement
le moulin s'est assemblé en permanence et l'époxy est dur.   Put les portées dans
place qui utilise epoxy.  Then fiche l'arbre à travers avant que l'époxy durcisse.   Avec ceci
la précaution, les portées seront tenues dans alignement.
 
Encore un autre façon de fournir la portée est faire une portée de tout à fait
epoxy.  Bore un 1 " trou du diamètre pour l'arbre, faites un col pour tenir l'arbre
exactement dans le centre du trou par endroits (3) et (4) alors avec l'arbre

hfm001.gif (600x600)


bien graissé et en place époxy du travail autour de l'arbre jusqu'à ce qu'il remplisse le
espacez entre le 3/4 " arbre du diamètre et le 1 " diamètre hole.  Remove le
l'arbre et a ennuyé l'huilant trou après que l'époxy ait durci et vous aurez très
les portées satisfaisantes.
 
(25) voyez la Partie (2).

hfm025.gif (317x393)



hfm002.gif (540x540)


 
(26) Casier du repas.

hfm026.gif (186x437)


 
(27) cette partie est un 3/16 " x 2 " rond verrou du poêle pommé qui a une noix ailée
l'allumé clair à la tête.   Dans allumer la noix ailée, seulement avant
il arrive à bien l'époxy du travail de la tête dans les fils donc ce sera serré sur
les fils.
 
(28) voyez le principal schéma d'assemblage sur moulin.

hfm028.gif (285x353)


     Also voient le détail (15).

hfm0150.gif (437x437)


 
VITA que les Bulletins Techniques offrent à bricolage
l'information de la technologie sur un
variété large de sujets.
 
Les Bulletins sont des générateurs de l'idée
ne projeté pas de fournir si beaucoup un définitif
répondez comme pour guider l'utilisateur
penser et les Lieux planning.  sont
le son et résultats difficiles sont fournis,
si disponible.
 
Les évaluations et commentaires ont basé sur chacun
l'expérience d'utilisateur est demandée.   Results
est incorporé dans éditions subséquentes,
donc fournir des directives supplémentaires
pour adaptation et utilise dans un
plus grande variété de conditions.
 
== == == == == == == == == == == == == == == == == == == ==
== == == == == == == == == == == == == == == == == == == ==
 

CD3WD Project Donate